专利数据库
统计分析
产业报告
专利数据监控
产业人才
行业动态
产业政策法规
维权援助
个人中心
详情
文本
图像
标题
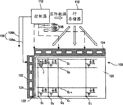
液晶显示器及其驱动方法
授权日
1900-01-01
公开(公告)号
CN1396581A
申请日
2002-06-28
公开(公告)日
2003-02-12
当前申请(专利权)人
乐金显示有限公司
发明人
孙玄镐 | 朴求铉
简单同族
CN1317689C | CN1396581A | JP2003108104A | KR100401377B1 | KR1020030005448A | TW583617B | US20030006948A1 | US6693618
简单同族成员数量
8
简单同族被引用专利总数
127
诉讼案件数
0
法律状态/事件
授权
抱歉,您的浏览器不支持PDF预览,请点击链接下载PDF文件