专利数据库
统计分析
产业报告
专利数据监控
产业人才
行业动态
产业政策法规
维权援助
个人中心
详情
文本
图像
标题
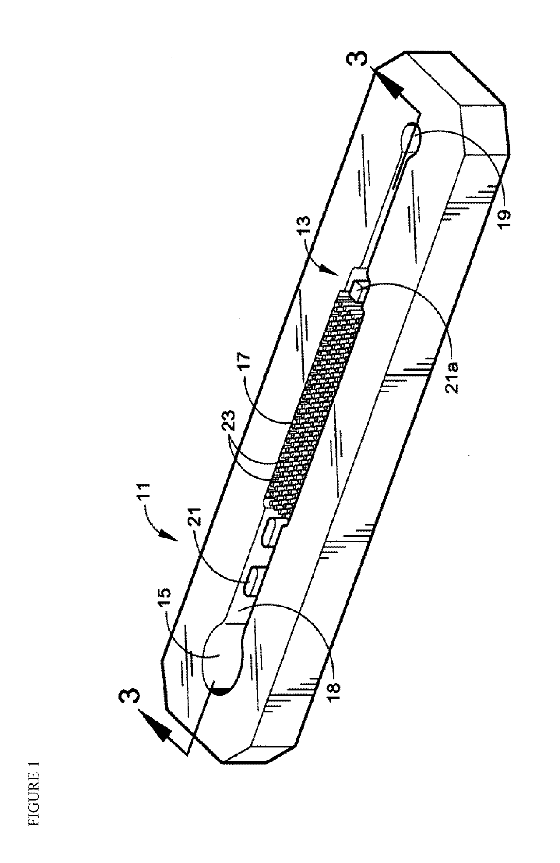
Devices and methods of cell capture and analysis
授权日
1900-01-01
公开(公告)号
US20100255479A1
申请日
2010-03-24
公开(公告)日
2010-10-07
当前申请(专利权)人
BIOCEPT, INC.
发明人
MIKOLAJCZYK, STEPHEN | PIRCHER, TONY | TSINBERG, PAVEL | BISCHOFF, FARIDEH Z.
简单同族
AU2010229924A1 | AU2010229924B2 | AU2016222325A1 | AU2016222325B2 | CA2756493A1 | CA2756493C | CN102414562A | CN102414562B | CN110470835A | EP2411808A2 | EP2411808A4 | EP2411808B1 | EP2995953A1 | EP2995953B1 | ES2557914T3 | HK1222901A | HK1222901A1 | JP2012522217A | JP2015072280A | JP2016048264A | JP2019020429A | JP5923035B2 | JP6081434B2 | JP6463668B2 | US10527611 | US20100255479A1 | US20160025720A1 | US9128082 | WO2010111388A2 | WO2010111388A3
简单同族成员数量
30
简单同族被引用专利总数
102
诉讼案件数
0
法律状态/事件
授权 | 权利转移
抱歉,您的浏览器不支持PDF预览,请点击链接下载PDF文件