专利数据库
统计分析
产业报告
专利数据监控
产业人才
行业动态
产业政策法规
维权援助
个人中心
详情
文本
图像
标题
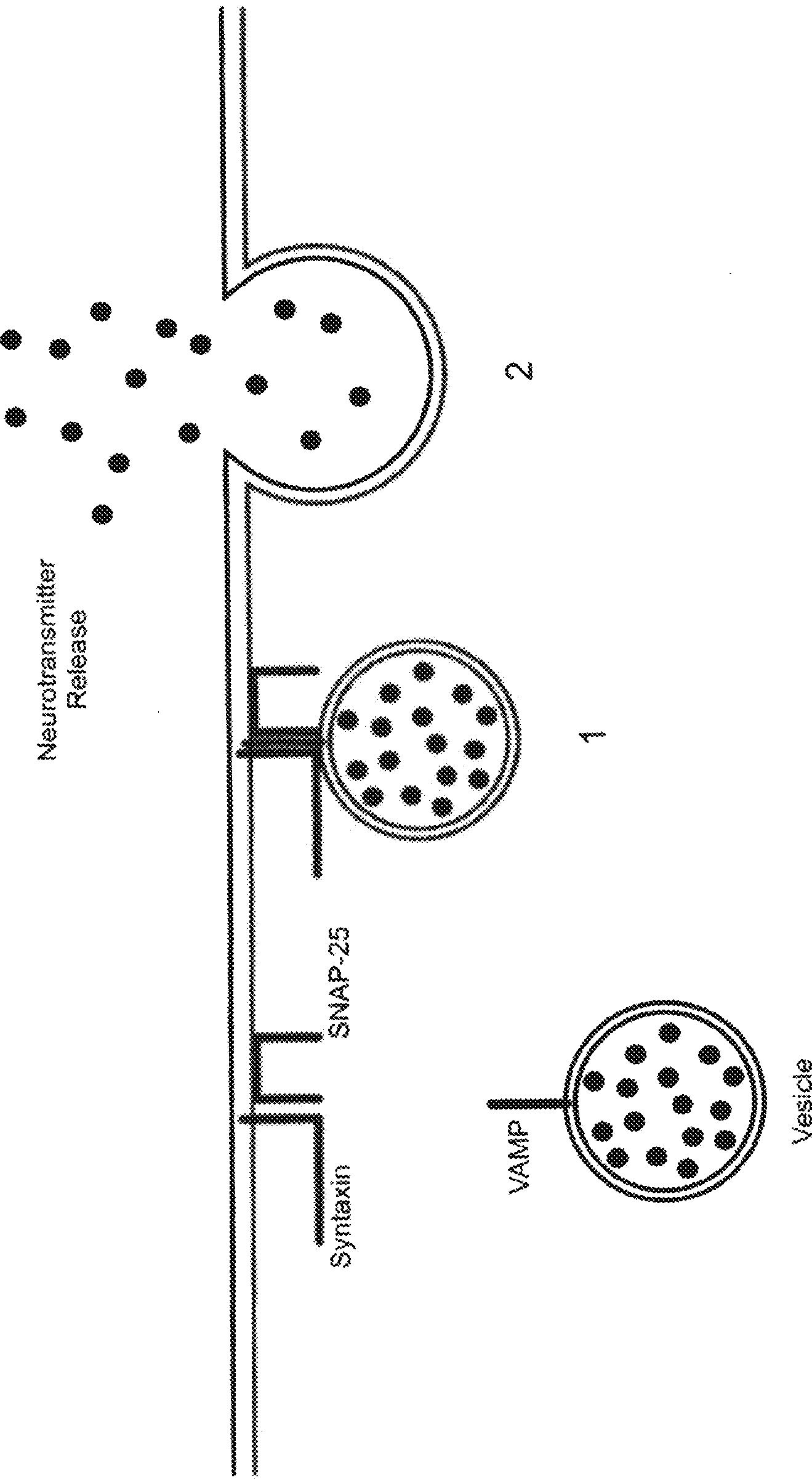
Immuno-based botulinum toxin serotype A activity assays
授权日
2016-02-02
公开(公告)号
US9249216
申请日
2012-05-18
公开(公告)日
2016-02-02
当前申请(专利权)人
ALLERGAN, INC.
发明人
FERNANDEZ-SALAS, ESTER | WANG, JOANNE | GARAY, PATTON | WONG, LINA S. | HODGES, D. DIANE | AOKI, KEI ROGER
简单同族
AU2009223161A1 | AU2009223161B2 | BR122012027456A2 | BRPI0908578A2 | CA2715033A1 | CA2715033C | CN102356091A | CN102937653A | CN102937653B | CO6311001A2 | CY1115771T1 | DK2271670T3 | DK3031825T3 | DK3031825T4 | EP2271670A1 | EP2271670B1 | EP2578601A1 | EP3031825A1 | EP3031825B1 | EP3556770A1 | ES2524312T3 | ES2755505T3 | HK1151298A | HK1151298A1 | HK1181786A | HK1225746A1 | HRP20191886T1 | HUE046037T2 | IL208097A | IL208097D0 | IL222737A | IL222737D0 | JP2011526243A | JP2013100304A | JP2015143689A | JP2015143689A5 | JP2015214567A | JP2018049020A | JP5766954B2 | JP6050401B2 | JP6227597B2 | JP6522075B2 | KR101609894B1 | KR1020100139022A | LT3031825T | MX2010010137A | MY155049A | MY165032A | NZ588029A | NZ588029B | PL2271670T3 | PL3031825T3 | PT2271670E | PT3031825T | RU2010140478A | RU2012146463A | RU2491293C2 | SG164767A1 | SG2014009112A | SI2271670T1 | SI3031825T1 | UA102247C2 | US10703806 | US20120122128A1 | US20120225436A1 | US20130040368A1 | US20170283487A1 | US8198034 | US9249216 | WO2009114748A1
简单同族成员数量
70
简单同族被引用专利总数
163
诉讼案件数
0
法律状态/事件
授权 | 权利转移
抱歉,您的浏览器不支持PDF预览,请点击链接下载PDF文件