专利数据库
统计分析
产业报告
专利数据监控
产业人才
行业动态
产业政策法规
维权援助
个人中心
详情
文本
图像
标题
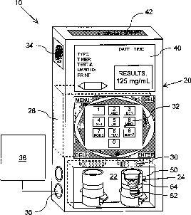
Portable apparatus for improved sample analysis
授权日
2015-10-27
公开(公告)号
US9170258
申请日
2014-11-25
公开(公告)日
2015-10-27
当前申请(专利权)人
MONTECITO BIO-SCIENCES, LTD.
发明人
WITHROW, III, EDWARD W. | GORLACH, JORN
简单同族
CN101558302A | CN101558302B | EP2080025A2 | EP2080025A4 | HK1137813A | HK1137813A1 | MOJ001298C | US20090010804A1 | US20120020837A1 | US20150072403A1 | US8920725 | US9170258 | WO2008057781A2 | WO2008057781A3
简单同族成员数量
14
简单同族被引用专利总数
58
诉讼案件数
0
法律状态/事件
授权 | 许可 | 权利转移
抱歉,您的浏览器不支持PDF预览,请点击链接下载PDF文件