专利数据库
统计分析
产业报告
专利数据监控
产业人才
行业动态
产业政策法规
维权援助
个人中心
详情
文本
图像
标题
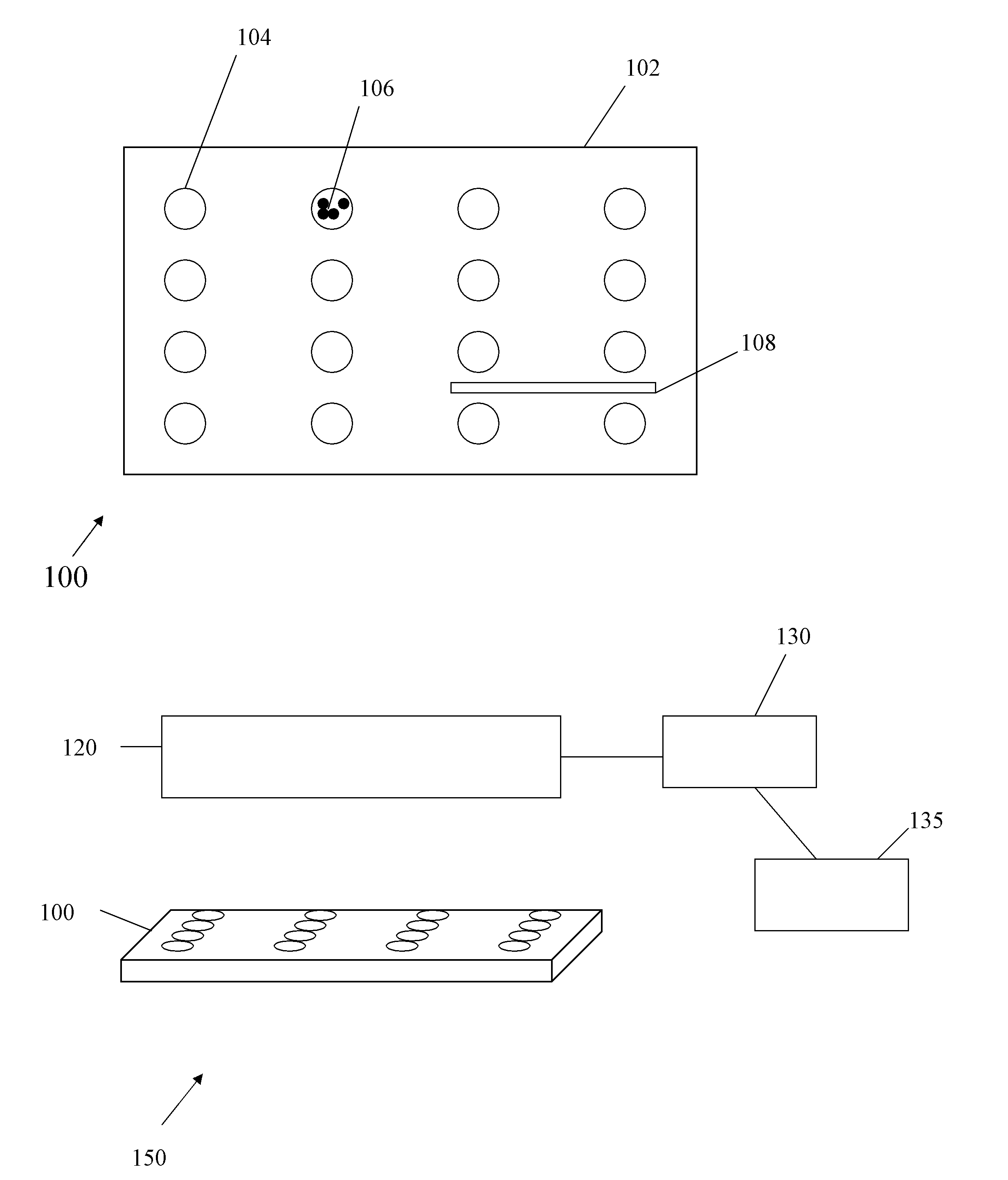
Systems and methods for fertility analysis
授权日
1900-01-01
公开(公告)号
US20110195403A1
申请日
2010-10-18
公开(公告)日
2011-08-11
当前申请(专利权)人
COMPANION DIAGNOSTICS INC.
发明人
SELINFREUND, RICHARD H. | VIG, RAKESH | GILL, RICHARD P.
简单同族
US20110192239A1 | US20110194996A1 | US20110195394A1 | US20110195395A1 | US20110195396A1 | US20110195397A1 | US20110195398A1 | US20110195399A1 | US20110195400A1 | US20110195401A1 | US20110195402A1 | US20110195403A1 | US20110195404A1 | US20110195421A1 | US20110195422A1 | US20110195423A1 | US20110195424A1 | US20110195425A1 | US20110195427A1 | US20110195439A1 | US20110195440A1 | US20110195487A1 | US20110195488A1 | US20110195491A1 | US20110195508A1 | US20110195851A1 | US20110195855A1 | US20110195856A1 | US20110195857A1 | US20110195858A1 | US20110195859A1 | US20110195871A1 | US20110195872A1 | US20110195873A1 | US20110195874A1 | US20110196085A1 | US20130157373A1 | US20130184186A1 | US20130184187A1 | US20140155282A1 | US8293537 | US8318105 | US8318641 | US8426151 | US8501669 | US8574856
简单同族成员数量
46
简单同族被引用专利总数
73
诉讼案件数
0
法律状态/事件
撤回 | 质押 | 权利转移
抱歉,您的浏览器不支持PDF预览,请点击链接下载PDF文件