专利数据库
统计分析
产业报告
专利数据监控
产业人才
行业动态
产业政策法规
维权援助
个人中心
详情
文本
图像
标题
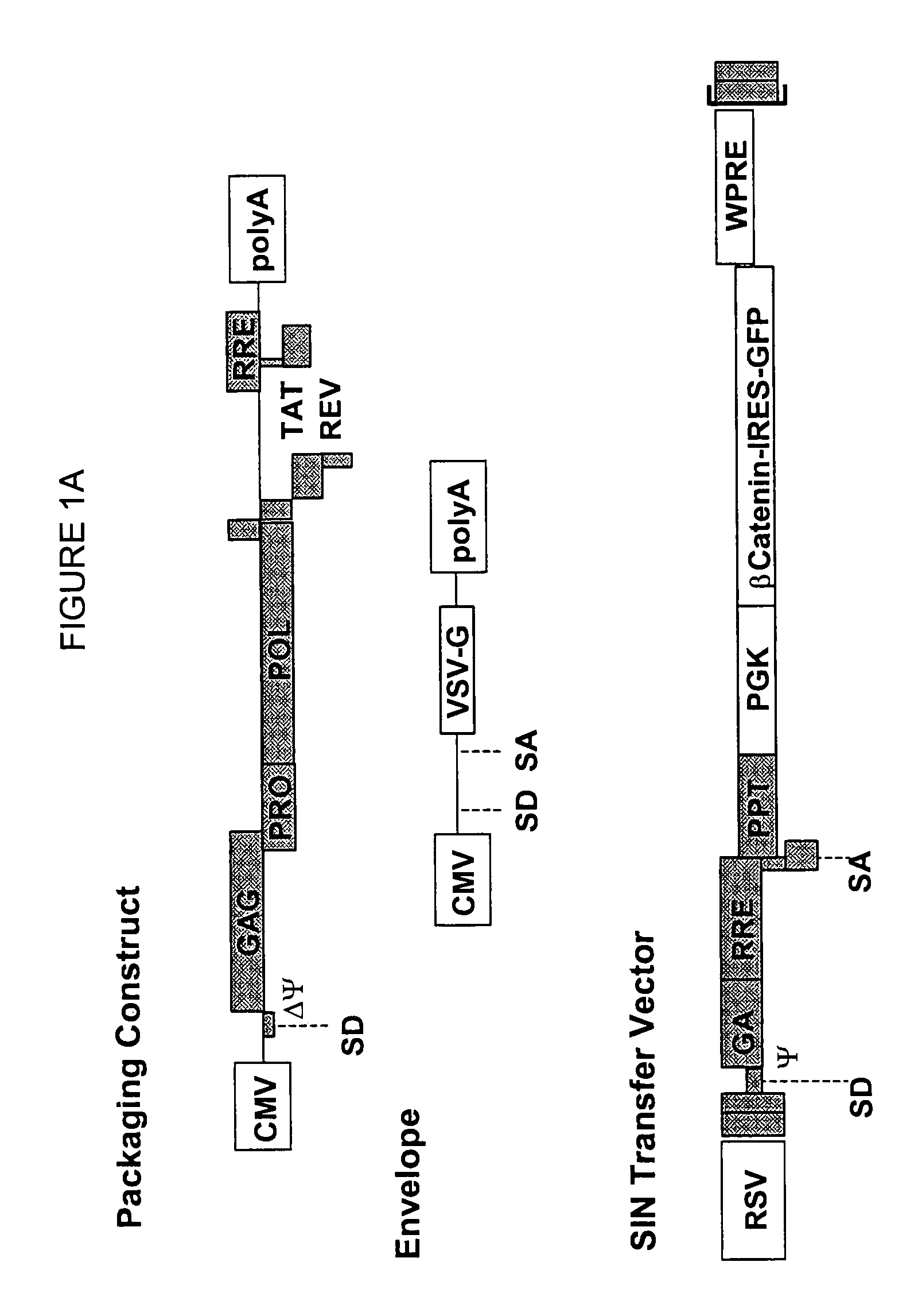
Methods of identifying and isolating stem cells and cancer stem cells
授权日
2009-11-24
公开(公告)号
US7622255
申请日
2007-05-02
公开(公告)日
2009-11-24
当前申请(专利权)人
THE BOARD OF TRUSTEES OF THE LELAND STANFORD JUNIOR UNIVERSITY
发明人
JAMIESON, CATRIONA HELEN M. | AILLES, LAURIE | REYA, TANNISHTHA | WEISSMAN, IRVING L.
简单同族
AU2003273542A1 | AU2003273542A8 | EP1530418A2 | EP1530418A4 | JP2005528115A | US20040018531A1 | US20070238127A1 | US7217568 | US7622255 | WO2003102215A2 | WO2003102215A3
简单同族成员数量
11
简单同族被引用专利总数
84
诉讼案件数
0
法律状态/事件
未缴年费 | 许可 | 权利转移
抱歉,您的浏览器不支持PDF预览,请点击链接下载PDF文件