专利数据库
统计分析
产业报告
专利数据监控
产业人才
行业动态
产业政策法规
维权援助
个人中心
详情
文本
图像
标题
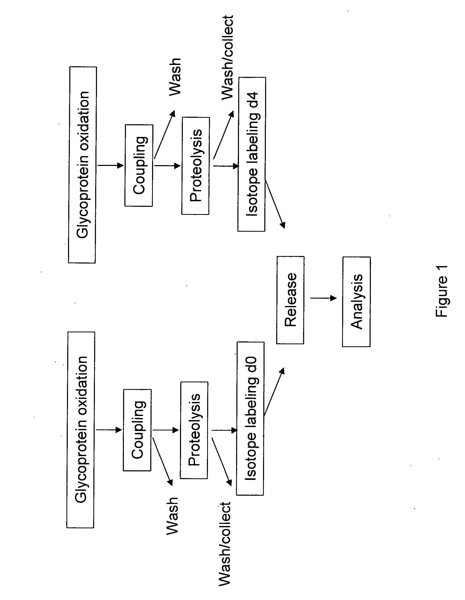
Methods for quantitative proteome analysis of glycoproteins
授权日
1900-01-01
公开(公告)号
US20070202539A1
申请日
2007-01-18
公开(公告)日
2007-08-30
当前申请(专利权)人
INSTITUTE FOR SYSTEMS BIOLOGY
发明人
AEBERSOLD, RUDOLF H. | ZHANG, HUI
简单同族
AU2003249692A1 | AU2003249692B2 | CA2487314A1 | EP1514107A2 | EP1514107A4 | EP1514107B1 | JP2006507476A | JP2010096769A | JP2010096769A5 | JP4583168B2 | US20040023306A1 | US20070202539A1 | US7183118 | WO2003102018A2 | WO2003102018A3
简单同族成员数量
15
简单同族被引用专利总数
118
诉讼案件数
0
法律状态/事件
撤回 | 权利转移
抱歉,您的浏览器不支持PDF预览,请点击链接下载PDF文件