专利数据库
统计分析
产业报告
专利数据监控
产业人才
行业动态
产业政策法规
维权援助
个人中心
详情
文本
图像
标题
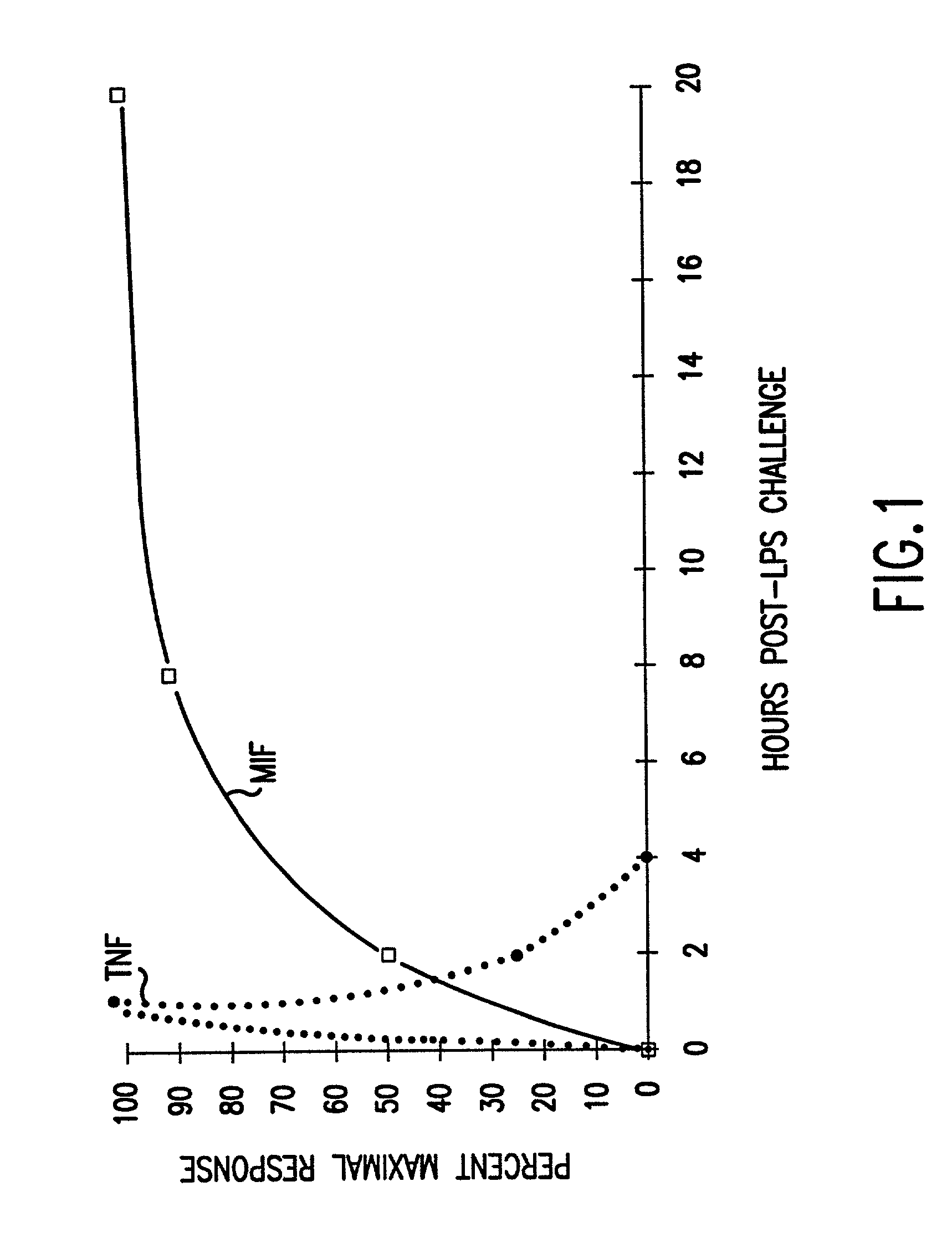
Method for determining MIF content
授权日
2006-02-14
公开(公告)号
US6998238
申请日
2000-04-25
公开(公告)日
2006-02-14
当前申请(专利权)人
BAXTER INTERNATIONAL INC. | BAXTER HEALTHCARE S.A.
发明人
BUCALA, RICHARD J. | MITCHELL, ROBERT A. | BERNHAGEN, JURGEN | CALANDRA, THIERRY F. | CERAMI, ANTHONY
简单同族
US20030099653A1 | US20040053843A1 | US20060062788A1 | US20100184091A1 | US20120028281A1 | US20120149044A1 | US6030615 | US6080407 | US6645493 | US6998238 | US7517523
简单同族成员数量
11
简单同族被引用专利总数
260
诉讼案件数
0
法律状态/事件
未缴年费 | 权利转移
抱歉,您的浏览器不支持PDF预览,请点击链接下载PDF文件