专利数据库
统计分析
产业报告
专利数据监控
产业人才
行业动态
产业政策法规
维权援助
个人中心
详情
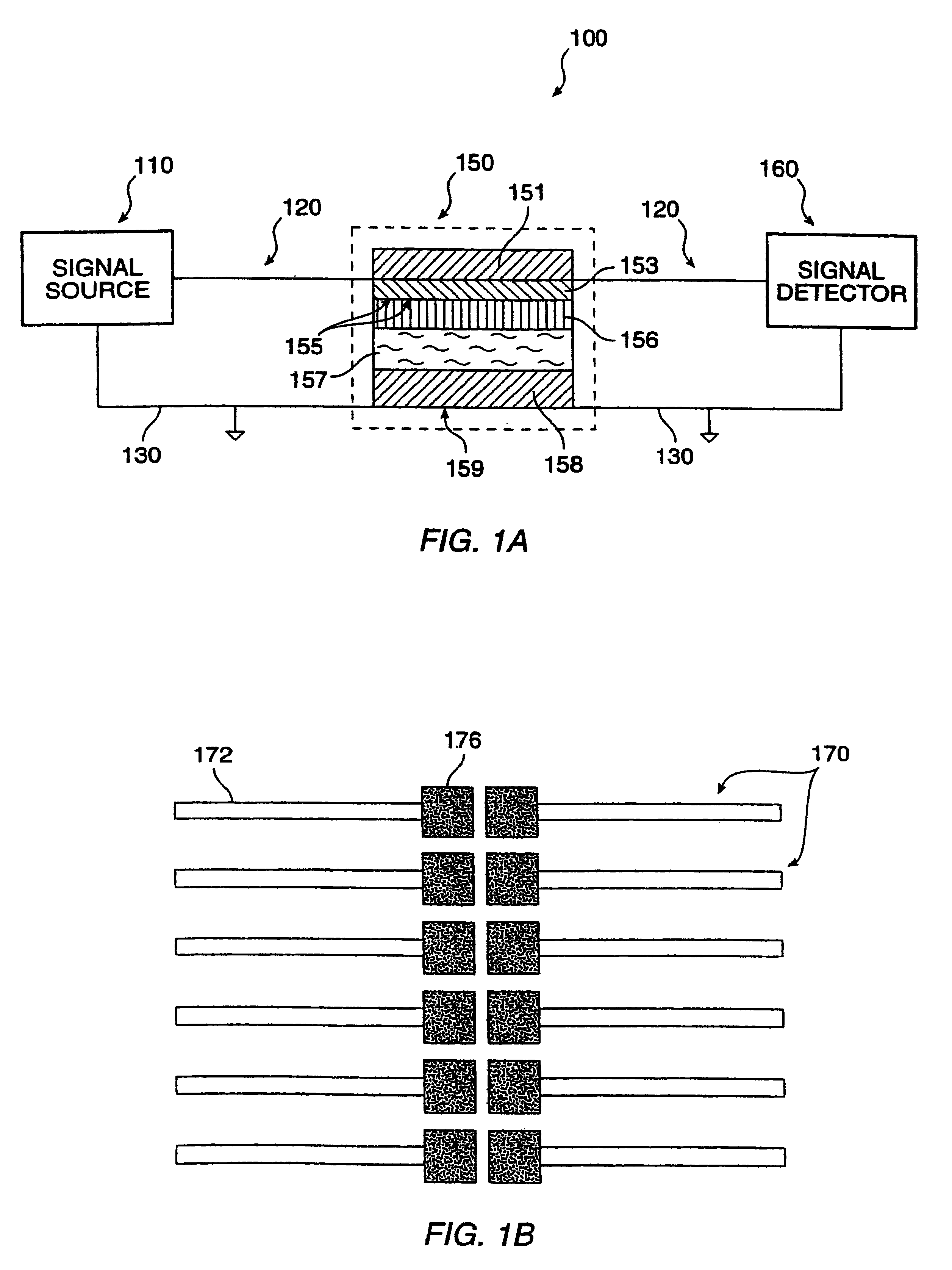
文本
图像
标题
Methods for analyzing protein binding events
授权日
2003-05-20
公开(公告)号
US6566079
申请日
2001-08-06
公开(公告)日
2003-05-20
当前申请(专利权)人
MDS SCIEX
发明人
HEFTI, JOHN
简单同族
AU2000063816A1 | CA2378928A1 | EP1206700A1 | JP2003506683A | MXPA02001259A | US20020028461A1 | US6287874 | US6566079 | WO2001009606A1
简单同族成员数量
9
简单同族被引用专利总数
233
诉讼案件数
0
法律状态/事件
未缴年费 | 权利转移
抱歉,您的浏览器不支持PDF预览,请点击链接下载PDF文件