专利数据库
统计分析
产业报告
专利数据监控
产业人才
行业动态
产业政策法规
维权援助
个人中心
详情
文本
图像
标题
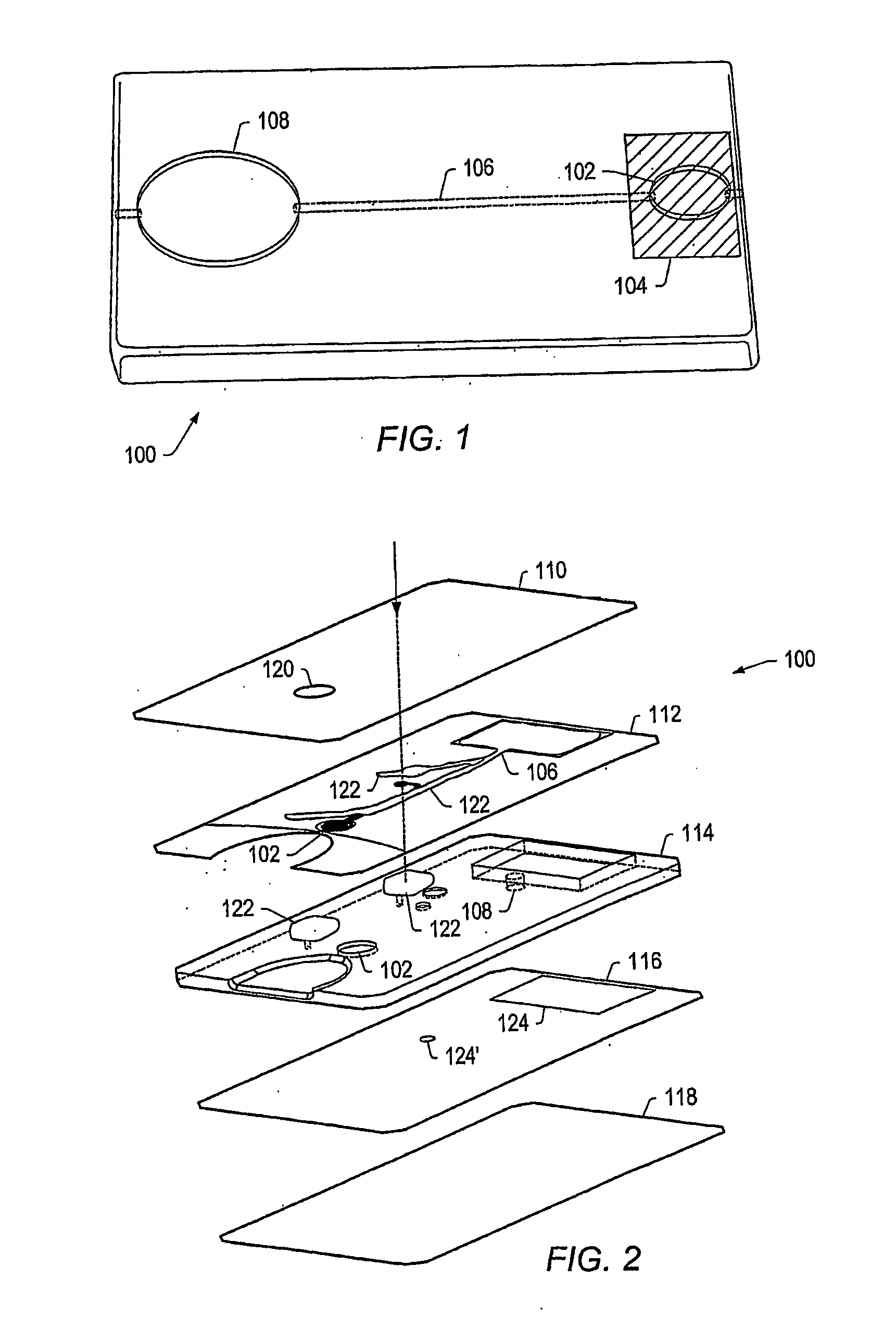
Systems and methods including self-contained cartridges with detection systems and fluid delivery systems
授权日
1900-01-01
公开(公告)号
US20100291588A1
申请日
2006-06-23
公开(公告)日
2010-11-18
当前申请(专利权)人
THE BOARD OF REGENTS OF THE UNIVERSITY OF TEXAS SYSTEM
发明人
MCDEVITT, JOHN T. | BALLARD, KARRI | CHRISTODOULIDES, NICOLAOS J. | FLORIANO, PIERRE N. | SIMMONS, GLENNON W.
简单同族
AU2006261953A1 | AU2006261953B2 | CA2613078A1 | EP1899450A2 | EP1899450A4 | EP2508867A1 | US20100291588A1 | WO2007002480A2 | WO2007002480A3
简单同族成员数量
9
简单同族被引用专利总数
213
诉讼案件数
0
法律状态/事件
撤回 | 权利转移
抱歉,您的浏览器不支持PDF预览,请点击链接下载PDF文件