专利数据库
统计分析
产业报告
专利数据监控
产业人才
行业动态
产业政策法规
维权援助
个人中心
详情
文本
图像
标题
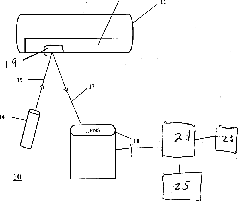
Apparatus and method for process monitoring
授权日
1900-01-01
公开(公告)号
US20040265175A1
申请日
2004-05-14
公开(公告)日
2004-12-30
当前申请(专利权)人
SOURCE SCIENTIFIC, LLC
发明人
WITTY, THOMAS R. | CASE, ROBERT
简单同族
EP1623226A2 | EP1623226A4 | HK1092214A | JP2007501415A | JP2007501415A5 | US20040228766A1 | US20040265175A1 | US20050186681A1 | US20050186682A1 | US20070059204A1 | US7189573 | US7192777 | US7217393 | WO2004104552A2 | WO2004104552A3
简单同族成员数量
15
简单同族被引用专利总数
105
诉讼案件数
0
法律状态/事件
未缴年费 | 质押 | 权利转移
抱歉,您的浏览器不支持PDF预览,请点击链接下载PDF文件