专利数据库
统计分析
产业报告
专利数据监控
产业人才
行业动态
产业政策法规
维权援助
个人中心
详情
文本
图像
标题
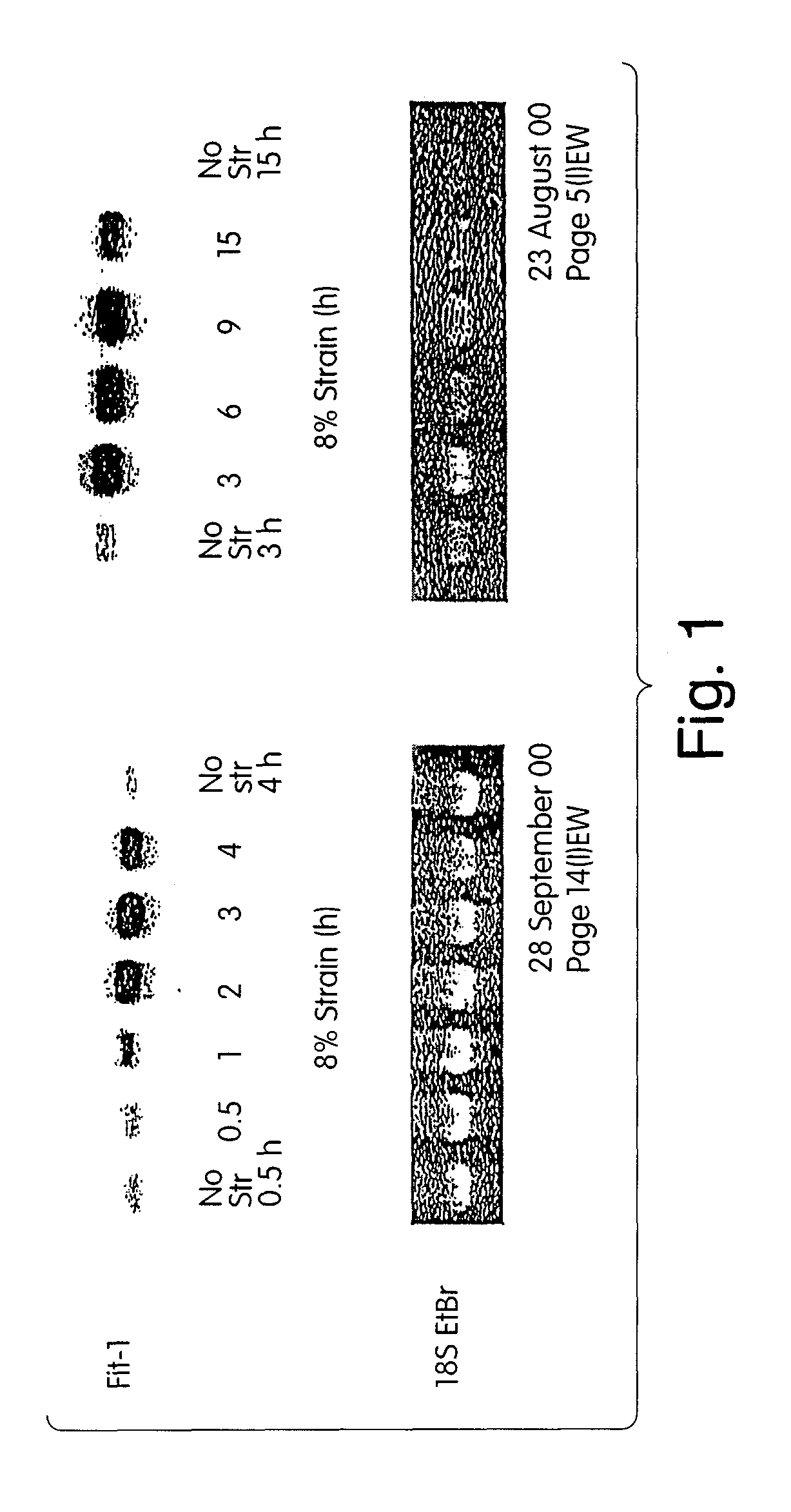
Methods for diagnosis of cardiovascular disease
授权日
2011-07-26
公开(公告)号
US7985558
申请日
2008-07-02
公开(公告)日
2011-07-26
当前申请(专利权)人
THE BRIGHAM AND WOMEN'S HOSPITAL, INC.
发明人
LEE, RICHARD T.
简单同族
AU2002018026A1 | US20050130136A1 | US20090192078A1 | US20110280887A1 | US20130317030A1 | US20150177259A1 | US20180156818A1 | US7432060 | US7985558 | US8530173 | US8871452 | US9857379 | WO2002038794A2 | WO2002038794A3
简单同族成员数量
14
简单同族被引用专利总数
154
诉讼案件数
0
法律状态/事件
授权 | 权利转移
抱歉,您的浏览器不支持PDF预览,请点击链接下载PDF文件