专利数据库
统计分析
产业报告
专利数据监控
产业人才
行业动态
产业政策法规
维权援助
个人中心
详情
文本
图像
标题
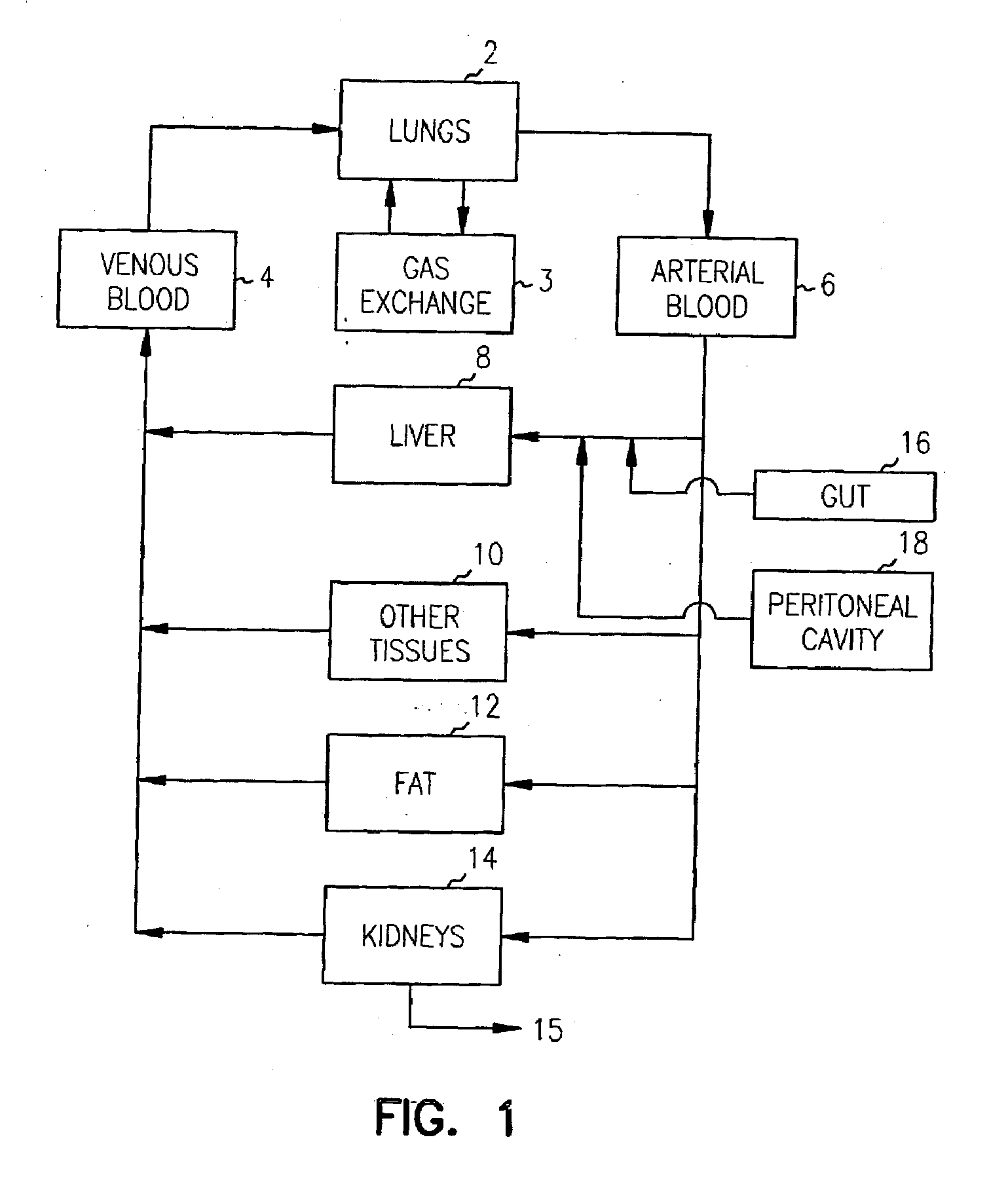
Devices and methods for pharmacokinetic-based cell culture system
授权日
1900-01-01
公开(公告)号
US20070020693A1
申请日
2006-09-19
公开(公告)日
2007-01-25
当前申请(专利权)人
CORNELL RESEARCH FOUNDATION, INC.
发明人
SHULER, MICHAEL | BAXTER, GREGORY T. | SIN, AARON | HARRISON, ROBERT ANDREW | MEYERS, SCOTT
简单同族
AT364685T | AU2002359234A1 | AU2002359234B2 | CA2445458A1 | CA2445458C | DE60220671D1 | DE60220671T2 | DK1392814T3 | EP1392814A2 | EP1392814B1 | ES2287351T3 | JP2005503169A | JP2005503169A5 | JP4260627B2 | US20030082795A1 | US20070015273A1 | US20070015274A1 | US20070015275A1 | US20070020613A1 | US20070020693A1 | US20070026519A1 | US20070037273A1 | US20070037275A1 | US20070122794A1 | US20070122896A1 | US20080166794A1 | US20080166795A1 | US20100304355A1 | US20120214189A1 | US20160281048A1 | US7288405 | US8030061 | US9273276 | US9732316 | WO2003027223A2 | WO2003027223A3
简单同族成员数量
36
简单同族被引用专利总数
269
诉讼案件数
0
法律状态/事件
撤回 | 权利转移
抱歉,您的浏览器不支持PDF预览,请点击链接下载PDF文件