专利数据库
统计分析
产业报告
专利数据监控
产业人才
行业动态
产业政策法规
维权援助
个人中心
详情
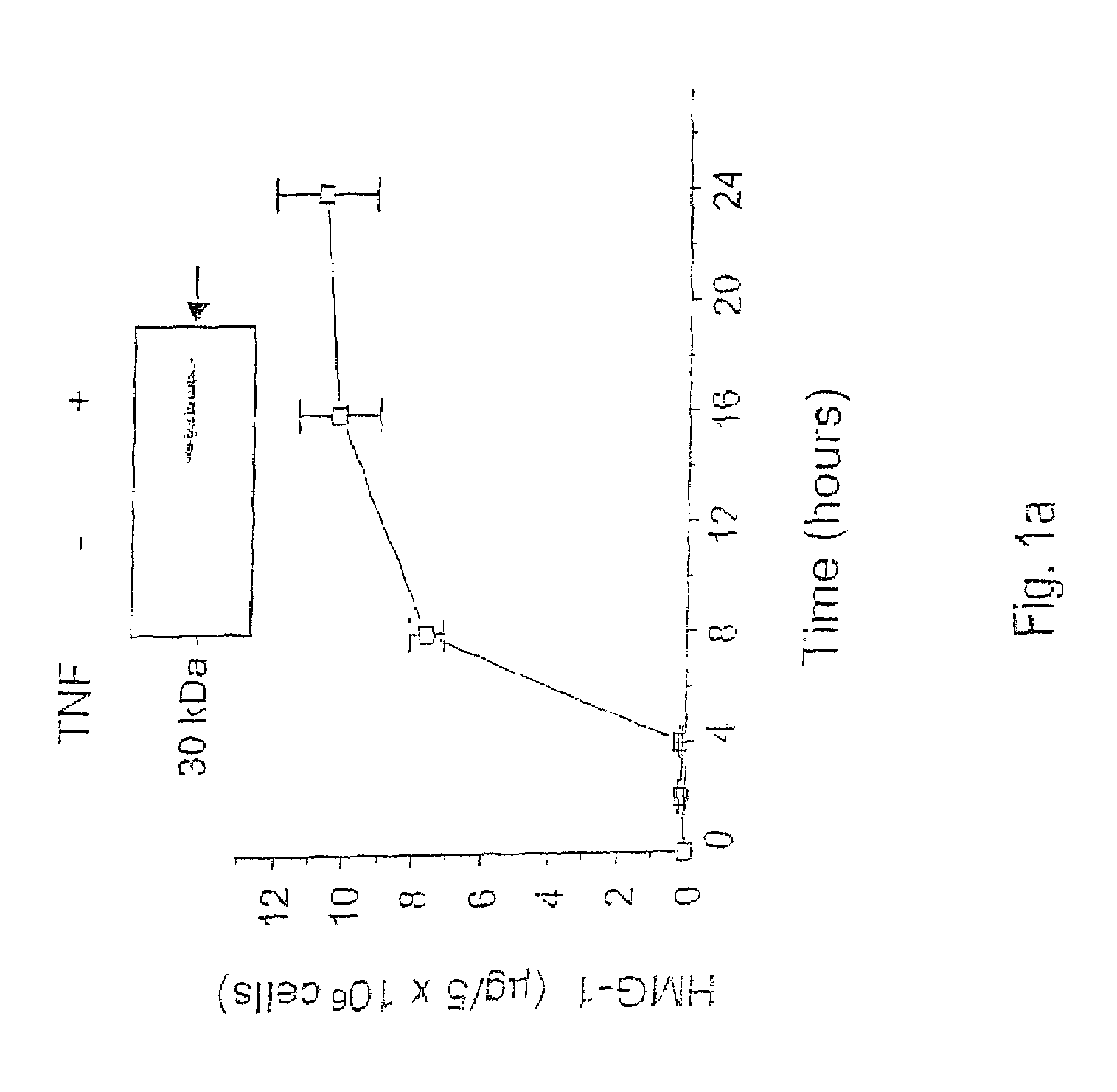
文本
图像
标题
Antagonists of HMG1 for treating inflammatory conditions
授权日
2006-06-13
公开(公告)号
US7060504
申请日
2002-09-11
公开(公告)日
2006-06-13
当前申请(专利权)人
FEINSTEIN INSTITUTE FOR MEDICAL RESEARCH, THE
发明人
TRACEY, KEVIN J. | WANG, HAICHAO
简单同族
AT327764T | AU2000036983A1 | AU782984B2 | CA2359926A1 | CA2359926C | DE60028358D1 | DE60028358T2 | DE60028358T3 | DK1165110T3 | EP1165110A2 | EP1165110A4 | EP1165110B1 | EP1165110B2 | EP1707214A1 | EP1757937A2 | EP1757937A3 | EP1757937B1 | EP2362221A1 | ES2269118T3 | ES2269118T5 | JP2003520763A | JP2003520763A5 | JP2011168593A | JP2014031386A | JP4812166B2 | JP5745299B2 | PT1165110E | US20020102609A1 | US20030017155A1 | US20030113323A1 | US20060210565A1 | US20060240019A1 | US20090263916A1 | US20100172905A1 | US20130028910A1 | US20150322140A1 | US20170129946A1 | US6303321 | US6448223 | US6468533 | US7060504 | US7097838 | US7537908 | US7572446 | US8053206 | US8138141 | US8822169 | WO2000047104A2 | WO2000047104A3 | WO2000047104A9 | WO2001047104A3
简单同族成员数量
51
简单同族被引用专利总数
311
诉讼案件数
0
法律状态/事件
未缴年费 | 许可 | 权利转移
抱歉,您的浏览器不支持PDF预览,请点击链接下载PDF文件