专利数据库
统计分析
产业报告
专利数据监控
产业人才
行业动态
产业政策法规
维权援助
个人中心
详情
文本
图像
标题
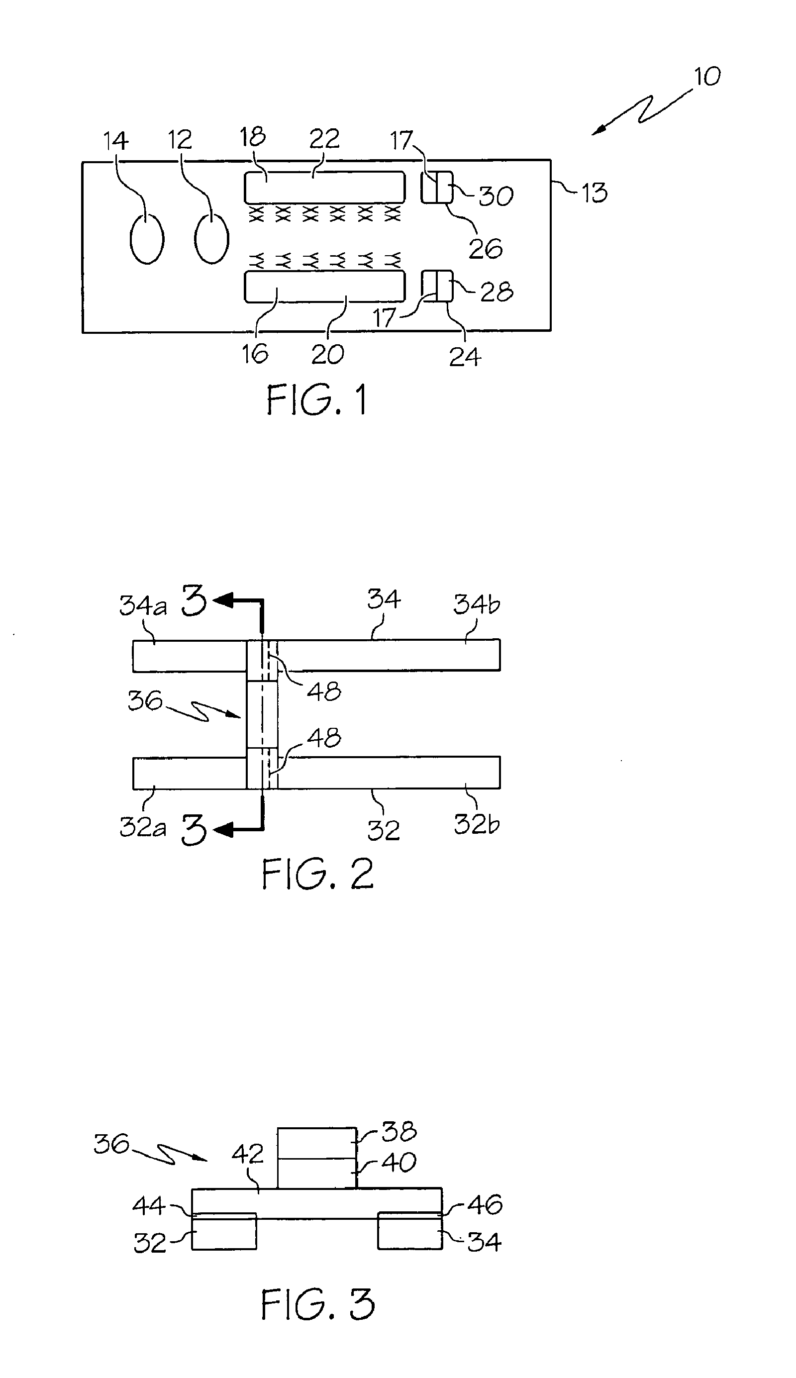
Two step lateral flow assay methods and devices
授权日
1900-01-01
公开(公告)号
US20110076691A1
申请日
2010-12-08
公开(公告)日
2011-03-31
当前申请(专利权)人
PHADIA AB
发明人
RUNDSTROM, GERD | MATSSON, PER | CHRISTOPHER, PAUL
简单同族
AT515703T | AU2006321289A1 | AU2006321289B2 | CA2608162A1 | CA2608162C | CN101184999A | CN101184999B | DK1891447T3 | EP1891447A1 | EP1891447B1 | ES2368863T3 | JP2008542708A | JP2008542708A5 | JP5033791B2 | KR101255400B1 | KR1020080016818A | RU2007147939A | RU2413947C2 | SI1891447T1 | US20070020768A1 | US20110076691A1 | US7871781 | US9034657 | WO2007063423A1 | WO2007063423A8
简单同族成员数量
25
简单同族被引用专利总数
125
诉讼案件数
0
法律状态/事件
授权
抱歉,您的浏览器不支持PDF预览,请点击链接下载PDF文件