专利数据库
统计分析
产业报告
专利数据监控
产业人才
行业动态
产业政策法规
维权援助
个人中心
详情
文本
图像
标题
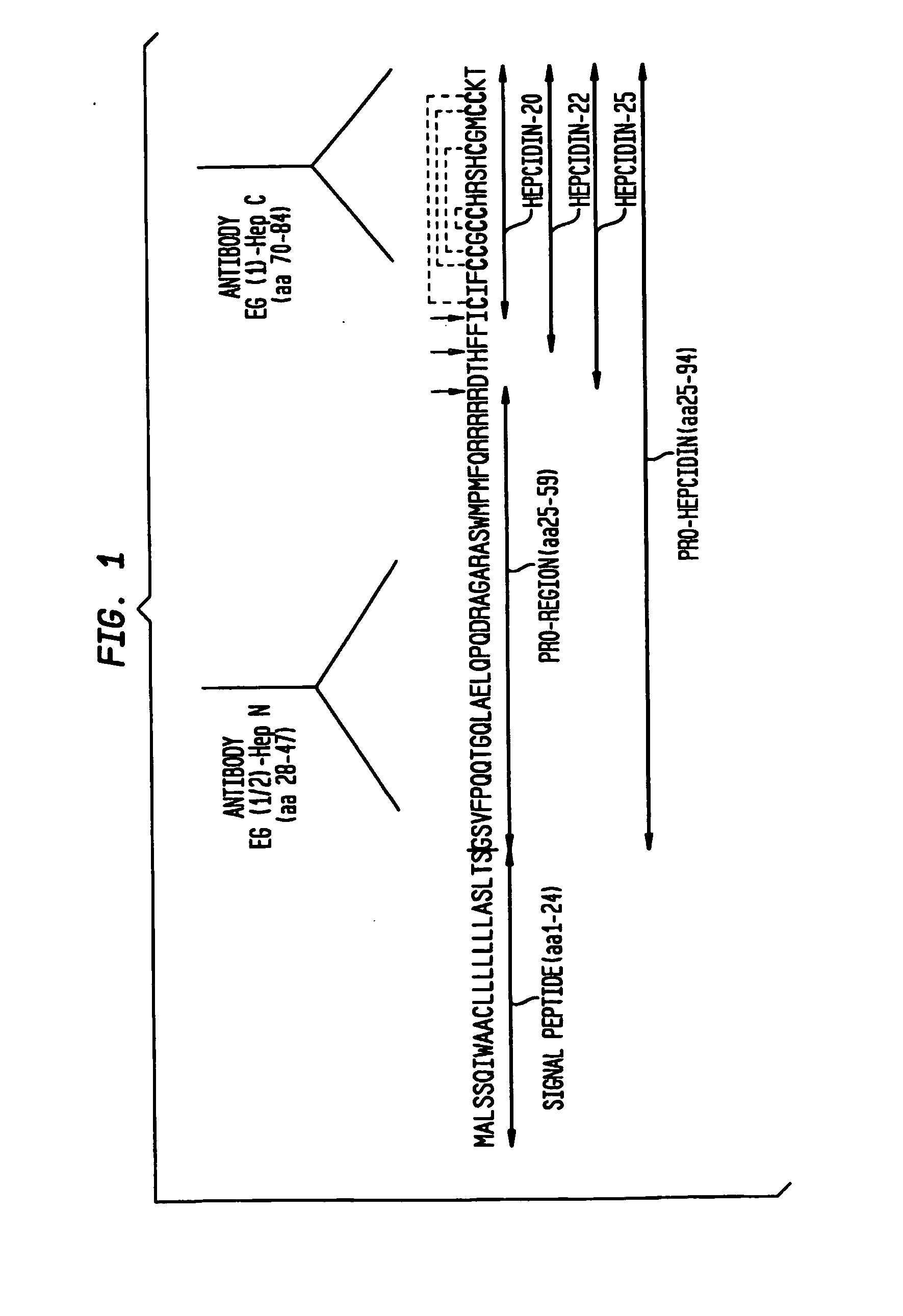
Diagnostic method for disease by screening for hepcidin in human or animal tissues, blood or body fluids and therapeutic uses therefor
授权日
1900-01-01
公开(公告)号
US20070134746A1
申请日
2003-11-19
公开(公告)日
2007-06-14
当前申请(专利权)人
DRG INTERNATIONAL, INC.
发明人
KULAKSIZ, HASAN | GEACINTOV, CYRIL E. | JANETZKO, ALFRED | STREMMEL, WOLFGANG
简单同族
AU2003295644A1 | AU2003295644A8 | CA2506668A1 | CA2506668C | EP1578254A2 | EP1578254A4 | EP1578254B1 | JP2006517198A | JP4638350B2 | RU2005119179A | RU2359268C2 | US20070134746A1 | US20100330595A1 | US20110287448A1 | US7749713 | US7998691 | US8263352 | WO2004058044A2 | WO2004058044A3
简单同族成员数量
19
简单同族被引用专利总数
97
诉讼案件数
0
法律状态/事件
授权 | 权利转移
抱歉,您的浏览器不支持PDF预览,请点击链接下载PDF文件