专利数据库
统计分析
产业报告
专利数据监控
产业人才
行业动态
产业政策法规
维权援助
个人中心
详情
文本
图像
标题
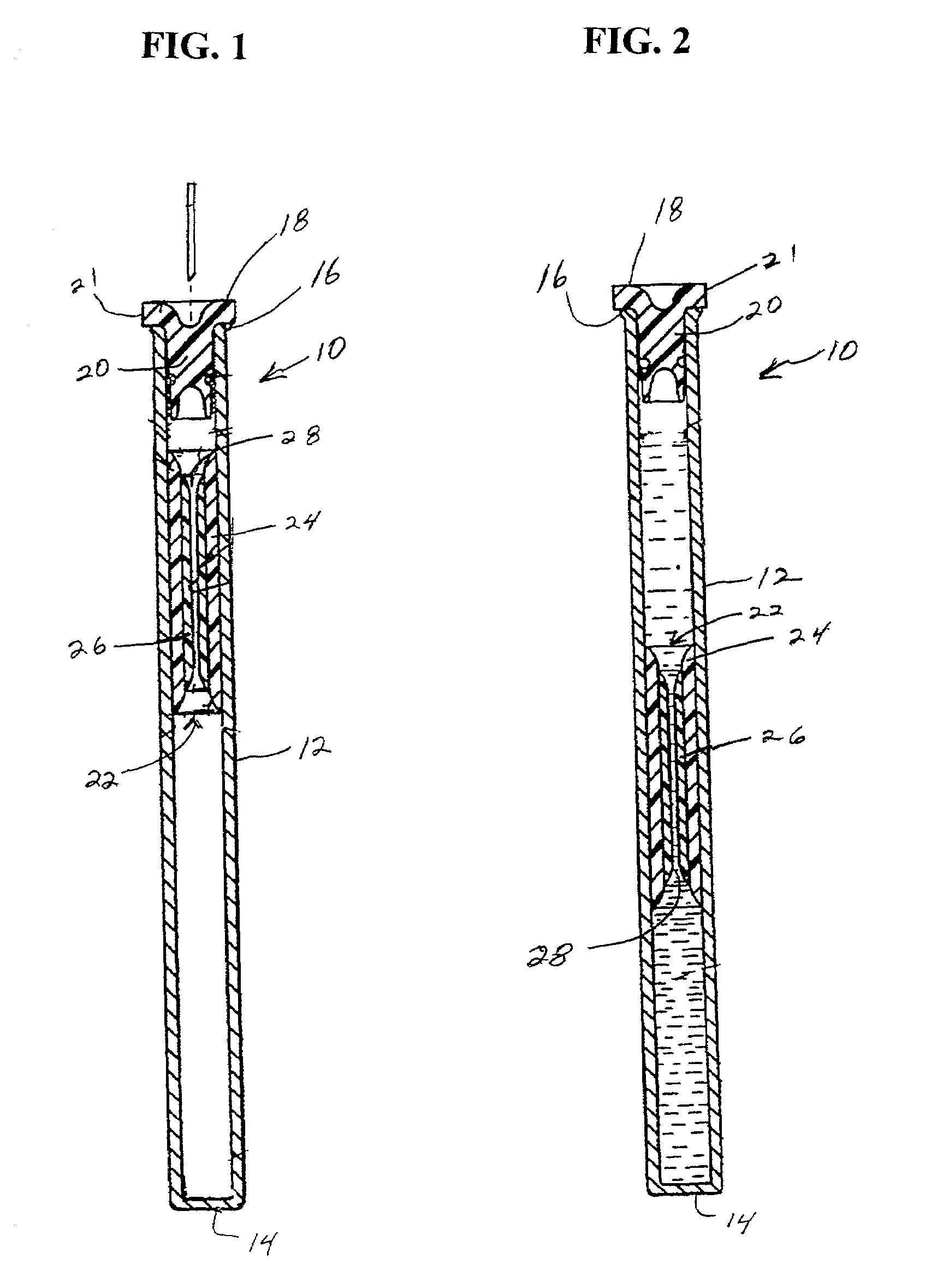
Method of separating cells from a sample
授权日
2007-04-17
公开(公告)号
US7205157
申请日
2001-01-08
公开(公告)日
2007-04-17
当前申请(专利权)人
BECTON, DICKINSON AND COMPANY
发明人
JURGENSEN, STEWART RUSSELL | LLOYD, SHEILA ANN
简单同族
CA2365925A1 | CA2365925C | EP1221342A2 | EP1221342A3 | EP1221342B1 | ES2587997T3 | JP2002253222A | JP2008301835A | JP4290916B2 | MXPA01013107A | US20020090741A1 | US20070190584A1 | US7205157 | US7524641
简单同族成员数量
14
简单同族被引用专利总数
108
诉讼案件数
0
法律状态/事件
授权 | 权利转移
抱歉,您的浏览器不支持PDF预览,请点击链接下载PDF文件