专利数据库
统计分析
产业报告
专利数据监控
产业人才
行业动态
产业政策法规
维权援助
个人中心
详情
文本
图像
标题
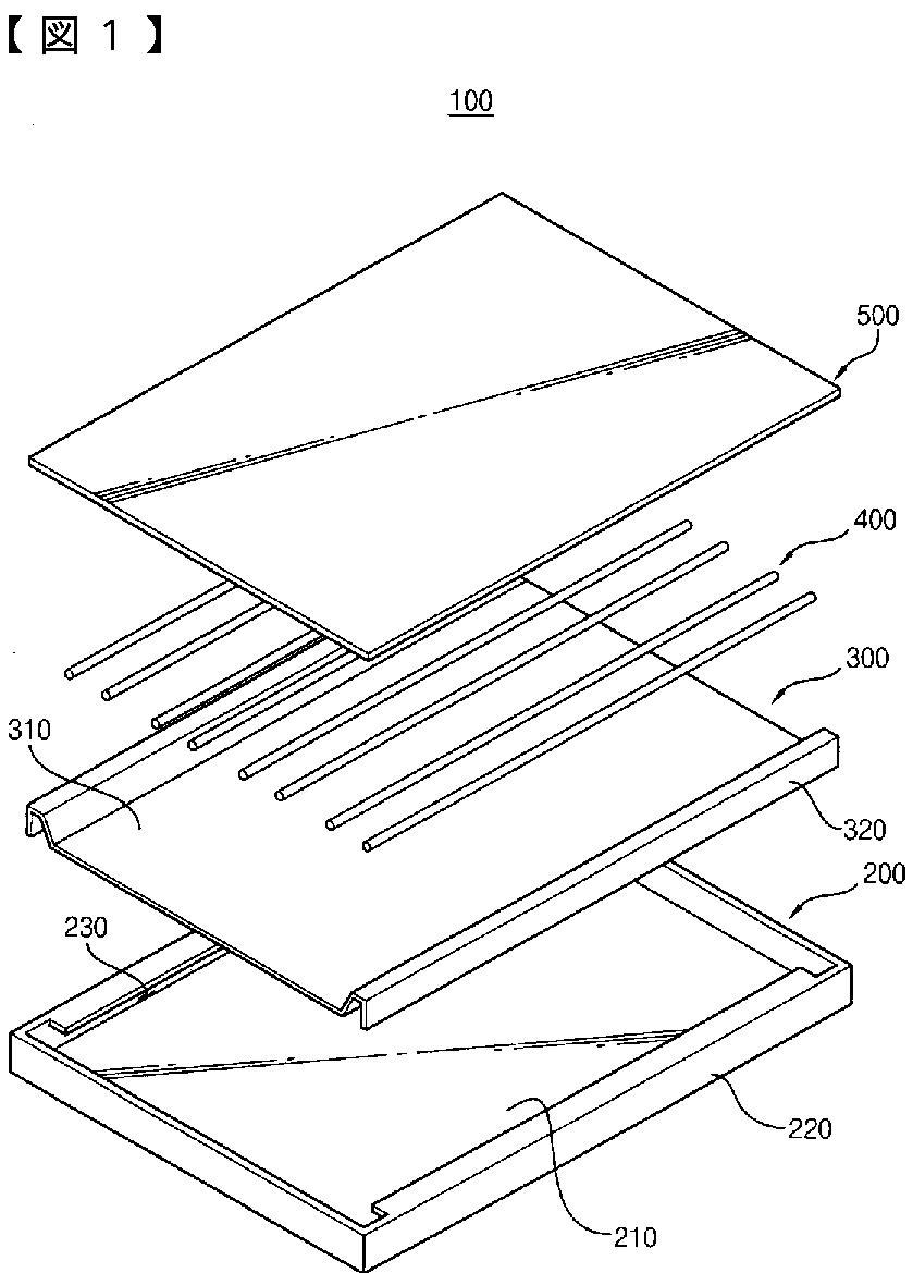
バックライトアセンブリ及びこれを有する液晶表示装置
授权日
2011-06-10
公开(公告)号
JP4758661B2
申请日
2005-03-03
公开(公告)日
2011-08-31
当前申请(专利权)人
サムスン エレクトロニクス カンパニー リミテッド
发明人
張 世 仁
简单同族
CN100462801C | CN1779524A | JP2006146126A | JP2006146126A5 | JP4758661B2 | KR101035848B1 | KR1020060057866A | TW200617521A | TWI443421B | US20060109643A1 | US7220045
简单同族成员数量
11
简单同族被引用专利总数
87
诉讼案件数
0
法律状态/事件
未缴年费 | 权利转移
抱歉,您的浏览器不支持PDF预览,请点击链接下载PDF文件