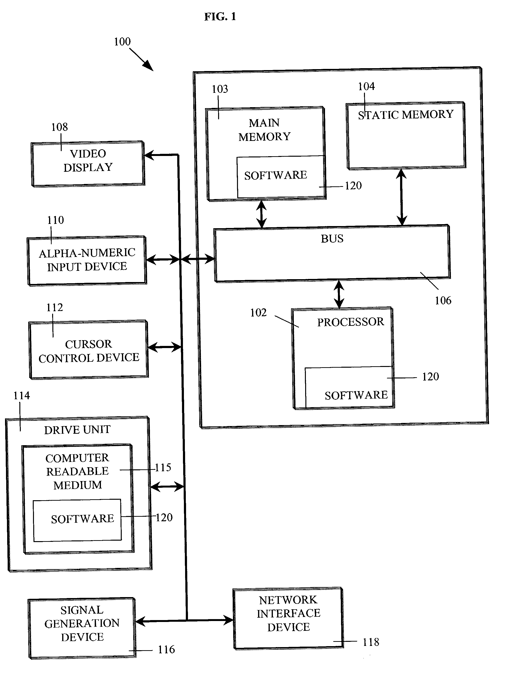
Method and apparatus for computer modeling of an adaptive immune response
授权日
1900-01-01
公开(公告)号
US20030104475A1
申请日
2002-06-28
公开(公告)日
2003-06-05
当前申请(专利权)人
ENTELOS, INC.
发明人
KELLY, SCOTT D. | KLINKE, DAVID J. II | LEONG, CLEMENT | LEWIS, ANNETTE K. | OKINO, MILES S. | PATERSON, THOMAS S. | SHODA, LISL K.M. | STOKES, CYNTHIA | STRUEMPER, HERBERT K.