专利数据库
统计分析
产业报告
专利数据监控
产业人才
行业动态
产业政策法规
维权援助
个人中心
详情
文本
图像
标题
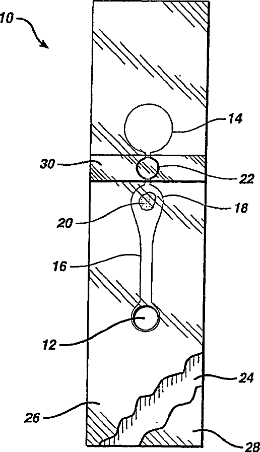
Microdroplet dispensing for a medical diagnostic device
授权日
1900-01-01
公开(公告)号
US20020098114A1
申请日
2002-02-01
公开(公告)日
2002-07-25
当前申请(专利权)人
LIFESCAN, INC.
发明人
HARDING, IAN A. | SHARTLE, ROBERT JUSTICE
简单同族
AR026703A1 | AT325342T | AU2000071890A1 | AU775559B2 | BRPI0005697A2 | CA2327305A1 | CN1213302C | CN1301965A | DE60027677D1 | DE60027677T2 | DK1107004T3 | EP1107004A2 | EP1107004A3 | EP1107004B1 | ES2264921T3 | HK1036838A | HK1036838A1 | HK1037723A | HK1037723A1 | IL139789A | IL139789D0 | JP2001201504A | KR1020010062005A | MX229732B | MXPA00011830A | NO20006106A | NO20006106D0 | NO20006106L | NO320095B1 | PT1107004E | RU2000130159A | RU2256167C2 | SG89361A1 | TW539546B | US20020098114A1 | US20030210287A1 | US6830934
简单同族成员数量
37
简单同族被引用专利总数
277
诉讼案件数
0
法律状态/事件
撤回 | 权利转移
抱歉,您的浏览器不支持PDF预览,请点击链接下载PDF文件