专利数据库
统计分析
产业报告
专利数据监控
产业人才
行业动态
产业政策法规
维权援助
个人中心
详情
文本
图像
标题
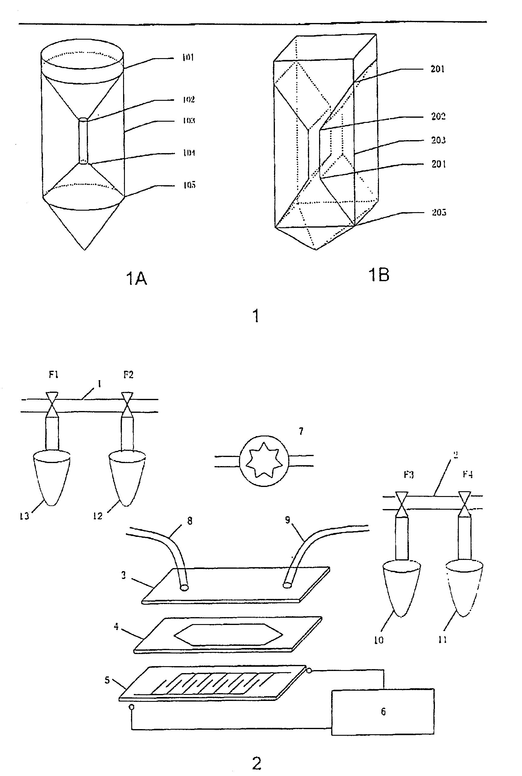
Cell isolation method and uses thereof
授权日
1900-01-01
公开(公告)号
US20020182654A1
申请日
2002-03-20
公开(公告)日
2002-12-05
当前申请(专利权)人
CAPITALBIO CORPORATION | TSINGHUA UNIVERSITY
发明人
JING, GAOSHAN | ZHANG, JIAN | CHENG, JING
简单同族
AT466096T | CA2440385A1 | CA2440385C | CN100494360C | CN1376779A | DE60236145D1 | EP1379682A1 | EP1379682A4 | EP1379682B1 | EP2116609A2 | EP2116609A3 | EP2116609B1 | HK1062190A | JP2004522452A | JP2006126195A | JP4411266B2 | US20020182654A1 | US20070128686A1 | US7153648 | US7918981 | WO2002077269A1
简单同族成员数量
21
简单同族被引用专利总数
93
诉讼案件数
0
法律状态/事件
授权 | 权利转移
抱歉,您的浏览器不支持PDF预览,请点击链接下载PDF文件