专利数据库
统计分析
产业报告
专利数据监控
产业人才
行业动态
产业政策法规
维权援助
个人中心
详情
文本
图像
标题
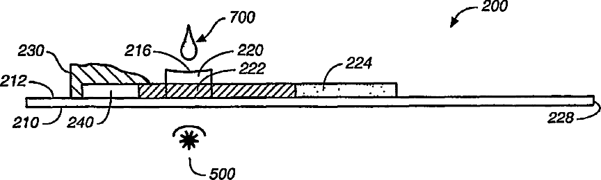
Assay device, system and method
授权日
2010-03-02
公开(公告)号
US7670853
申请日
2003-11-05
公开(公告)日
2010-03-02
当前申请(专利权)人
ABBOTT DIABETES CARE INC.
发明人
JINA, ARVIND N.
简单同族
AU2003291250A1 | AU2003291250A8 | US20060148096A1 | US20100190268A1 | US7670853 | WO2004042364A2 | WO2004042364A3 | WO2004042364B1
简单同族成员数量
8
简单同族被引用专利总数
102
诉讼案件数
0
法律状态/事件
未缴年费 | 权利转移
抱歉,您的浏览器不支持PDF预览,请点击链接下载PDF文件