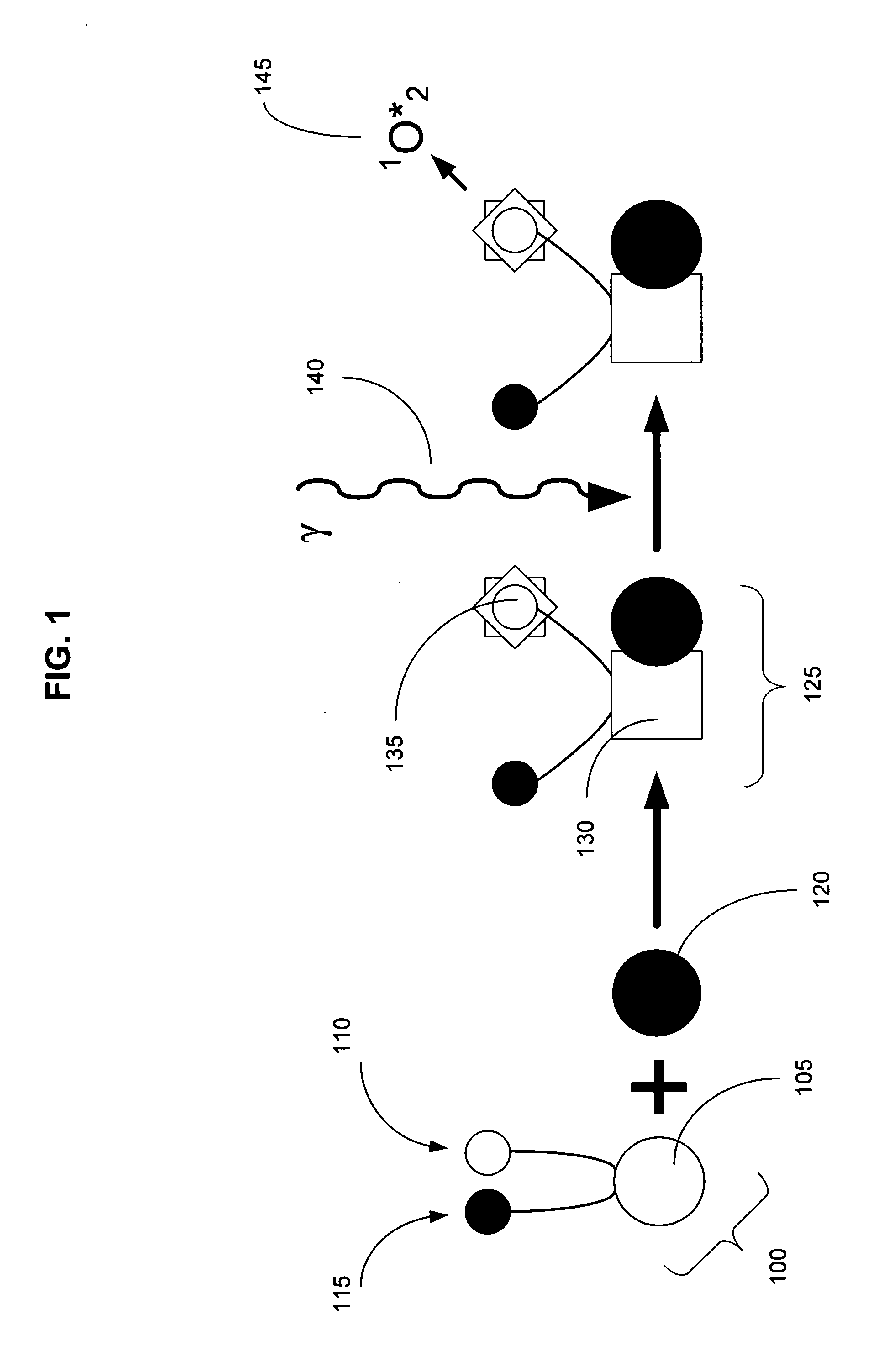
Biological targeting compositions and methods of using the same
授权日
2012-07-03
公开(公告)号
US8211656
申请日
2008-08-13
公开(公告)日
2012-07-03
当前申请(专利权)人
DEEP SCIENCE, LLC
发明人
HYDE, RODERICK A. | ISHIKAWA, MURIEL Y. | JUNG, EDWARD K. Y. | GATES, WILLIAM | LANGER, ALOIS A. | LEUTHARDT, ERIC C. | LEVIEN, ROYCE A. | TEGREENE, CLARENCE T. | WEAVER, THOMAS A. | WHITMER, CHARLES | WOOD, JR., LOWELL L. | WOOD, VICTORIA Y. H.