专利数据库
统计分析
产业报告
专利数据监控
产业人才
行业动态
产业政策法规
维权援助
个人中心
详情
文本
图像
标题
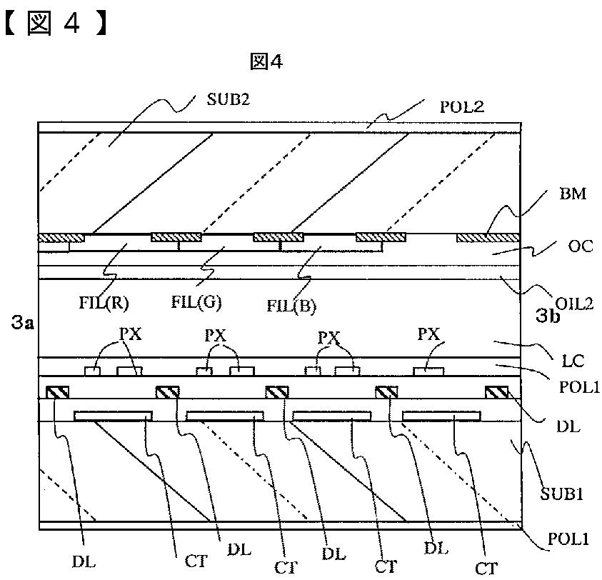
液晶表示装置
授权日
2010-05-21
公开(公告)号
JP4516348B2
申请日
2004-04-21
公开(公告)日
2010-08-04
当前申请(专利权)人
株式会社 日立ディスプレイズ
发明人
小野 記久雄
简单同族
CN100462822C | CN1690803A | JP2005309052A | JP4516348B2 | KR100750442B1 | KR1020060047256A | TW200624880A | TWI269890B | US20050237447A1 | US7554640
简单同族成员数量
10
简单同族被引用专利总数
70
诉讼案件数
0
法律状态/事件
授权 | 权利转移
抱歉,您的浏览器不支持PDF预览,请点击链接下载PDF文件