专利数据库
统计分析
产业报告
专利数据监控
产业人才
行业动态
产业政策法规
维权援助
个人中心
详情
文本
图像
标题
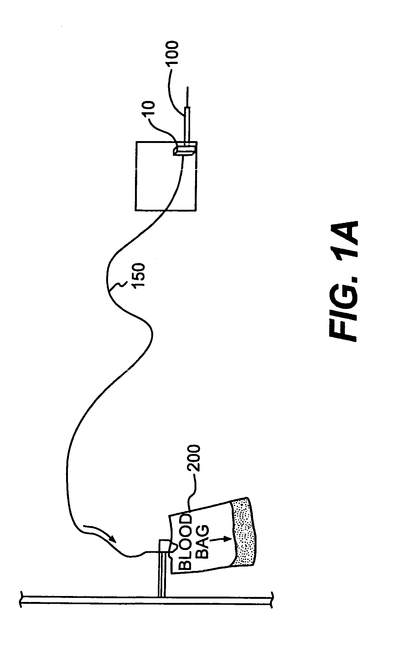
Device and method for in-line blood testing using biochips
授权日
2010-08-31
公开(公告)号
US7785782
申请日
2003-12-12
公开(公告)日
2010-08-31
当前申请(专利权)人
NOVARTIS VACCINES AND DIAGNOSTICS, INC.
发明人
CHIEN, DAVID Y. | PHELPS, BRUCE H. | FONG, YIU-LAN
简单同族
AU2003296945A1 | AU2003296945A8 | AU2003296946A1 | AU2003296946A8 | EP1570043A2 | EP1570043A4 | EP1570043B1 | EP1570090A2 | EP1570090A4 | ES2428628T3 | US20040209353A1 | US20050048519A1 | US7785782 | WO2004055198A2 | WO2004055198A3 | WO2004055199A2 | WO2004055199A3
简单同族成员数量
17
简单同族被引用专利总数
99
诉讼案件数
0
法律状态/事件
未缴年费 | 权利转移
抱歉,您的浏览器不支持PDF预览,请点击链接下载PDF文件