专利数据库
统计分析
产业报告
专利数据监控
产业人才
行业动态
产业政策法规
维权援助
个人中心
详情
文本
图像
标题
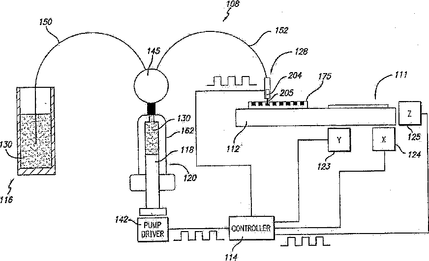
Method and system for the analysis of high density cells samples
授权日
1900-01-01
公开(公告)号
US20150119283A1
申请日
2014-12-23
公开(公告)日
2015-04-30
当前申请(专利权)人
BIODOT, INC.
发明人
MOORE, MATTHEW | REYES, MIRIAM | BAUNOCH, DAVID | TISONE, THOMAS C. | O'FARRELL, BRENDAN
简单同族
CA2529016A1 | EP1654346A2 | EP1654346A4 | EP1654346B1 | EP3323877A1 | ES2645437T3 | US20050003458A1 | US20100273680A1 | US20140005060A1 | US20150119283A1 | US7754439 | US8323882 | US8940478 | US9415369 | WO2004111610A2 | WO2004111610A3
简单同族成员数量
16
简单同族被引用专利总数
115
诉讼案件数
0
法律状态/事件
授权 | 质押 | 许可 | 权利转移
抱歉,您的浏览器不支持PDF预览,请点击链接下载PDF文件