专利数据库
统计分析
产业报告
专利数据监控
产业人才
行业动态
产业政策法规
维权援助
个人中心
详情
文本
图像
标题
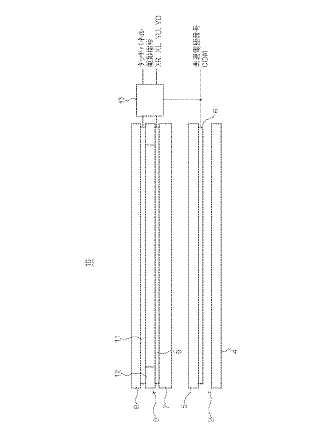
表示装置及び電子機器
授权日
1900-01-01
公开(公告)号
JP2005221526A
申请日
2004-02-03
公开(公告)日
2005-08-18
当前申请(专利权)人
NEC液晶テクノロジー株式会社
发明人
伊藤 幸浩
简单同族
CN100445814C | CN1651980A | JP2005221526A | JP4056480B2 | KR100689363B1 | KR1020060041643A | TW200527262A | TWI288341B | US20050168450A1 | US20080291176A1 | US7633484 | US8203536
简单同族成员数量
12
简单同族被引用专利总数
66
诉讼案件数
0
法律状态/事件
授权 | 权利转移
抱歉,您的浏览器不支持PDF预览,请点击链接下载PDF文件