专利数据库
统计分析
产业报告
专利数据监控
产业人才
行业动态
产业政策法规
维权援助
个人中心
详情
文本
图像
标题
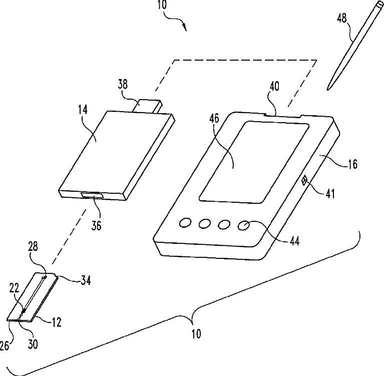
Electrochemical affinity biosensor system and methods
授权日
1900-01-01
公开(公告)号
US20130213822A1
申请日
2012-09-25
公开(公告)日
2013-08-22
当前申请(专利权)人
ROCHE DIAGNOSTICS OPERATIONS, INC.
发明人
DIEBOLD, ERIC R. | GHOSHAL, MITALI | DENG, DAVID Z. | TSAI, JANE SHIOW-CHUAN
简单同族
CA2530211A1 | CA2530211C | CA2694876A1 | EP1646637A2 | EP1646637B1 | EP2465862A1 | ES2392170T3 | JP2007530413A | JP2010229135A | JP2010248196A | JP2011128168A | JP4644192B2 | US20070054317A1 | US20120125788A1 | US20130213822A1 | US8288544 | US8293904 | US8557989 | WO2005026178A2 | WO2005026178A3
简单同族成员数量
20
简单同族被引用专利总数
69
诉讼案件数
0
法律状态/事件
未缴年费 | 权利转移
抱歉,您的浏览器不支持PDF预览,请点击链接下载PDF文件