专利数据库
统计分析
产业报告
专利数据监控
产业人才
行业动态
产业政策法规
维权援助
个人中心
详情
文本
图像
标题
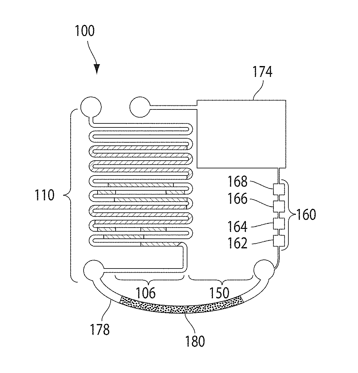
Fluidic connectors and microfluidic systems
授权日
2019-09-10
公开(公告)号
US10408824
申请日
2015-11-24
公开(公告)日
2019-09-10
当前申请(专利权)人
OPKO DIAGNOSTICS, LLC
发明人
LINDER, VINCENT | STEINMILLER, DAVID | SIA, SAMUEL K.
简单同族
CN101754812A | CN101754812B | CN103495439A | CN103495439B | DK2152417T3 | DK2152417T6 | EP2152417A2 | EP2152417B1 | ES2687620T3 | JP2010526291A | JP2010526291A5 | JP2013213827A | JP2015064373A | JP5305361B2 | JP5661867B2 | JP6143734B2 | US10408824 | US20080273918A1 | US20120238033A1 | US20120269701A1 | US20130157286A1 | US20140205997A1 | US20150079606A1 | US20160077087A1 | US20160305938A1 | US8202492 | US8409527 | US8475737 | US8802445 | US9075047 | US9234888 | WO2008137008A2 | WO2008137008A3
简单同族成员数量
33
简单同族被引用专利总数
178
诉讼案件数
0
法律状态/事件
授权 | 权利转移
抱歉,您的浏览器不支持PDF预览,请点击链接下载PDF文件