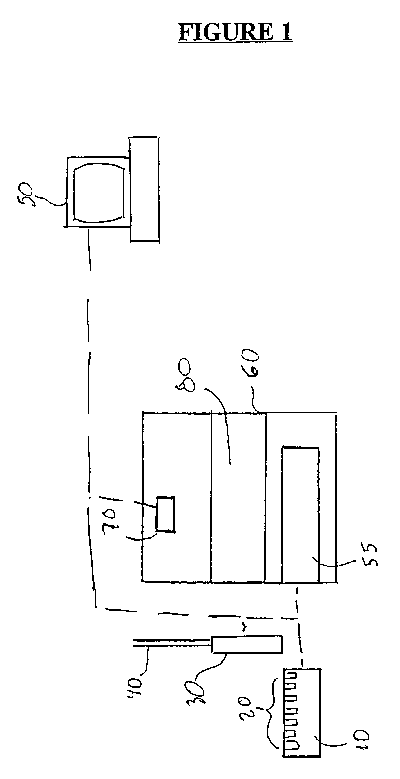
Method for measuring luminescence at a luminescence detection workstation
授权日
2010-03-02
公开(公告)号
US7670848
申请日
2005-10-18
公开(公告)日
2010-03-02
当前申请(专利权)人
APPLIED BIOSYSTEMS, LLC
发明人
GAMBINI, MICHAEL R. | VOYTA, JOHN C. | ATWOOD, JOHN | ATWOOD-STONE, LEGAL REPRESENTATIVE, SUSAN A. | DESIMAS, II, BRUCE E. | LAKATOS, EDWARD | LEVI, JEFF | METAL, ISRAEL | SABAK, GEORGE | WANG, YONGDONG