专利数据库
统计分析
产业报告
专利数据监控
产业人才
行业动态
产业政策法规
维权援助
个人中心
详情
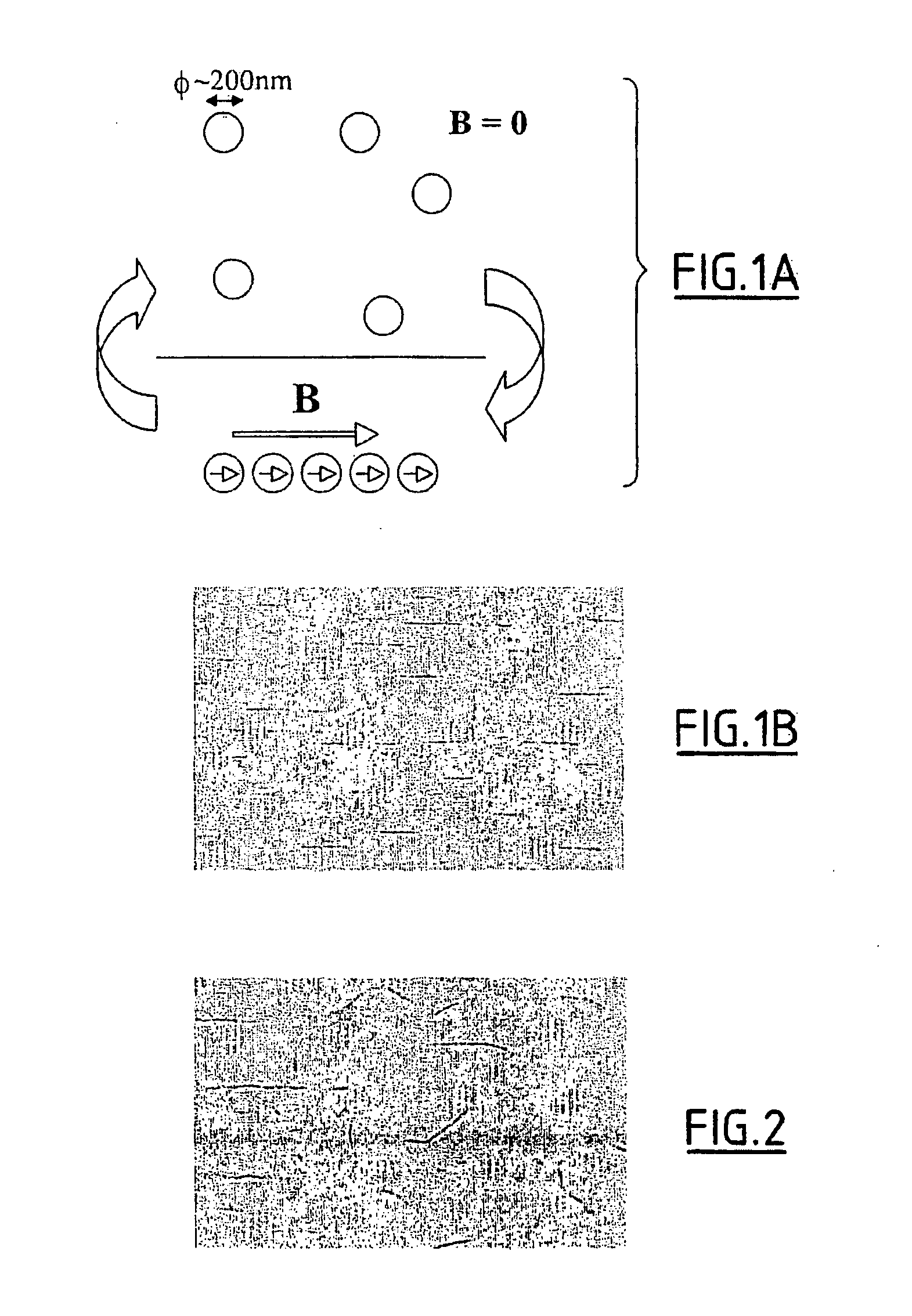
文本
图像
标题
Method for detecting analyte(s) using magnetic colloidal particles
授权日
2009-05-13
公开(公告)号
EP1446666B1
申请日
2002-11-20
公开(公告)日
2009-05-13
当前申请(专利权)人
DIAGNOSTICA STAGO | BIBETTE, JÉRÔME
发明人
BIBETTE, JÉRÔME | BAUDRY, JEAN | ROUSSEAU, ALAIN
简单同族
AT431553T | AU2002361324A1 | BRPI0214233A2 | CA2467050A1 | CN100501403C | CN1589405A | DE60232353D1 | EP1446666A1 | EP1446666B1 | ES2325917T3 | FR2832507A1 | FR2832507B1 | HK1063502A | HU0402276A2 | HU0402276A3 | HU225636B1 | JP2005517899A | JP2005517899A5 | KR1020050044559A | MXPA04004679A | NO20042579L | PL368690A1 | RU2004118490A | US20050048673A1 | US7332353 | WO2003044532A1 | ZA200403903B
简单同族成员数量
27
简单同族被引用专利总数
68
诉讼案件数
0
法律状态/事件
授权
抱歉,您的浏览器不支持PDF预览,请点击链接下载PDF文件