专利数据库
统计分析
产业报告
专利数据监控
产业人才
行业动态
产业政策法规
维权援助
个人中心
详情
文本
图像
标题
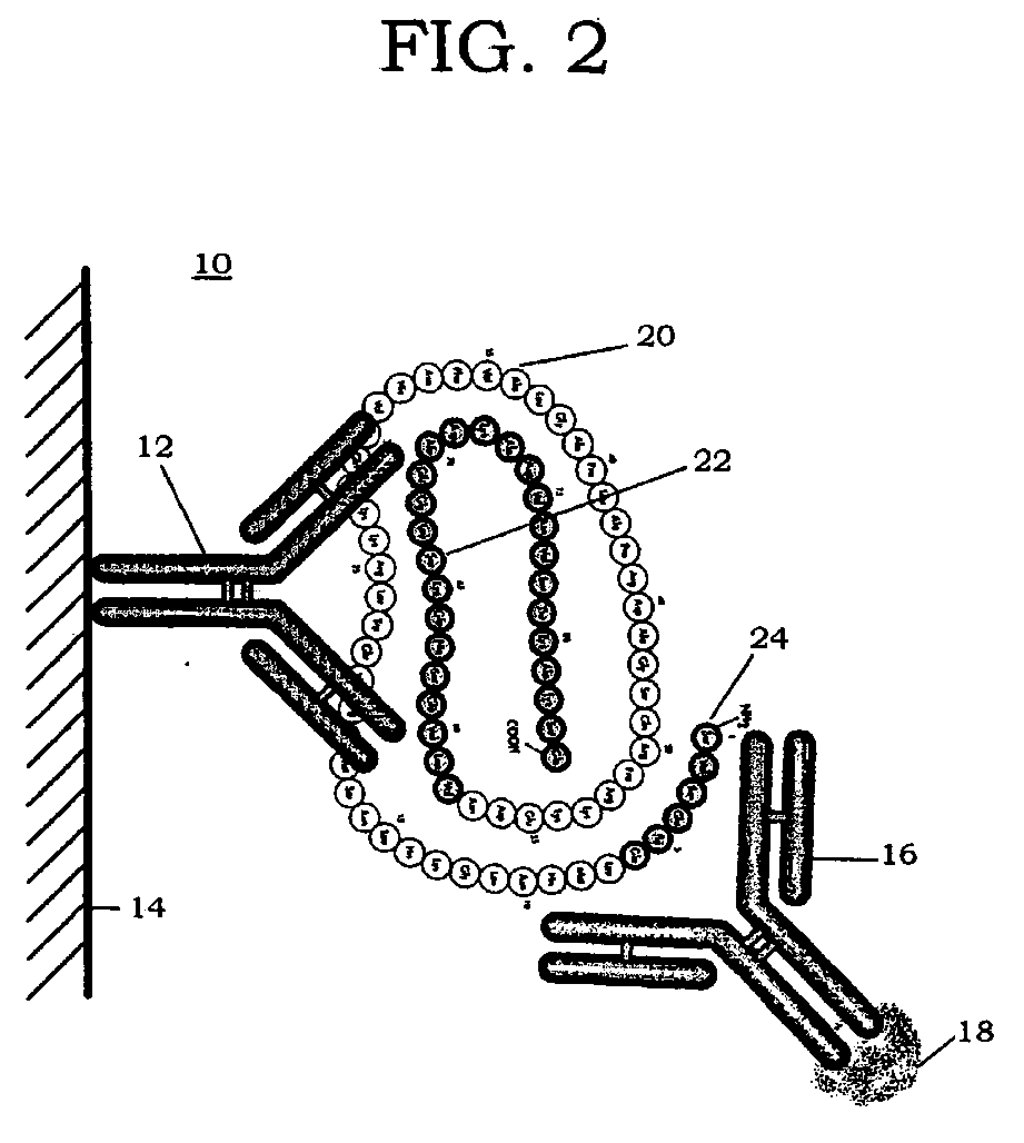
Methods for differentiating and monitoring parathyroid and bone status related diseases
授权日
1900-01-01
公开(公告)号
EP1729135A3
申请日
2000-01-13
公开(公告)日
2008-07-02
当前申请(专利权)人
SCANTIBODIES LABORATORY, INC.
发明人
CANTOR, THOMAS LESLIE | GAO, PING
简单同族
AT354803T | CA2360020A1 | CA2360020C | DE60033499D1 | DE60033499T2 | EP1151307A1 | EP1151307A4 | EP1151307B1 | EP1729135A2 | EP1729135A3 | ES2277827T3 | JP2002535622A | JP4132677B2 | US20040185536A1 | US20040229281A1 | US20050095631A1 | US20110300642A1 | US6689566 | US6743590 | US7723042 | US7892749 | US7943323 | US8470543 | WO2000042437A1
简单同族成员数量
24
简单同族被引用专利总数
61
诉讼案件数
0
法律状态/事件
撤回
抱歉,您的浏览器不支持PDF预览,请点击链接下载PDF文件