专利数据库
统计分析
产业报告
专利数据监控
产业人才
行业动态
产业政策法规
维权援助
个人中心
详情
文本
图像
标题
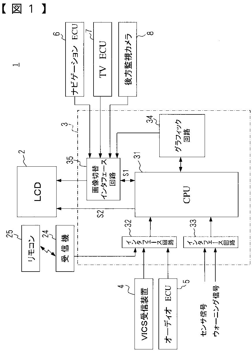
フルカラー表示装置
授权日
2007-07-27
公开(公告)号
JP3988575B2
申请日
2002-08-09
公开(公告)日
2007-10-10
当前申请(专利权)人
株式会社デンソー
发明人
西川 良一
简单同族
JP2004070193A | JP3988575B2 | US20040027041A1 | US7126567
简单同族成员数量
4
简单同族被引用专利总数
109
诉讼案件数
0
法律状态/事件
授权
抱歉,您的浏览器不支持PDF预览,请点击链接下载PDF文件