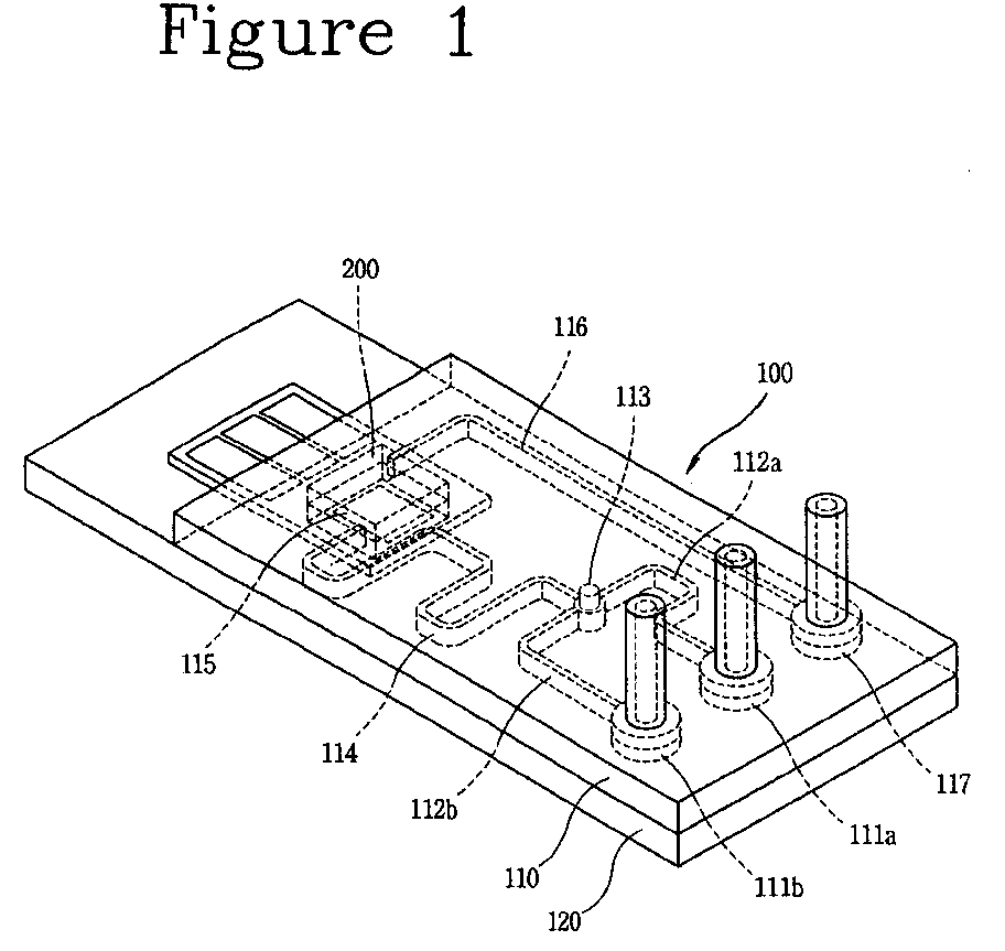
Quantitative biopolymer detecting system using monolithic piezoelectric cantilever by resonant frequency shift, method for fabricating the same system and method for detecting biopolymer quantitatively using the same system
授权日
1900-01-01
公开(公告)号
EP1536227A3
申请日
2004-05-24
公开(公告)日
2005-07-27
当前申请(专利权)人
KOREA INSTITUTE OF SCIENCE AND TECHNOLOGY
发明人
KIM, TAE SONG | HWANG, KYO SEON | PARK, JAE BUM | LEE, JEONG HOON