专利数据库
统计分析
产业报告
专利数据监控
产业人才
行业动态
产业政策法规
维权援助
个人中心
详情
文本
图像
标题
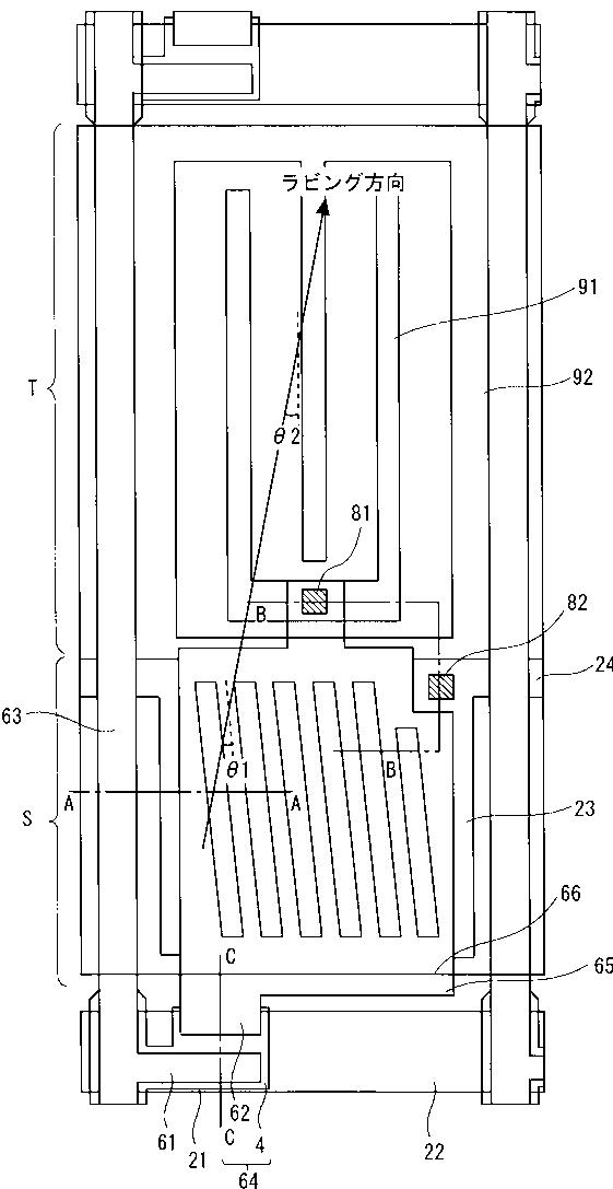
液晶表示装置、及びその製造方法
授权日
1900-01-01
公开(公告)号
JP2007310273A
申请日
2006-05-22
公开(公告)日
2007-11-29
当前申请(专利权)人
三菱電機株式会社
发明人
永野 慎吾
简单同族
CN100526960C | CN101078841A | JP2007310273A | JP4916770B2 | KR100863322B1 | KR100883814B1 | KR1020070112710A | KR1020080056142A | TW200811556A | TWI356956B | US20070268440A1 | US7525626
简单同族成员数量
12
简单同族被引用专利总数
58
诉讼案件数
0
法律状态/事件
授权
抱歉,您的浏览器不支持PDF预览,请点击链接下载PDF文件