专利数据库
统计分析
产业报告
专利数据监控
产业人才
行业动态
产业政策法规
维权援助
个人中心
详情
文本
图像
标题
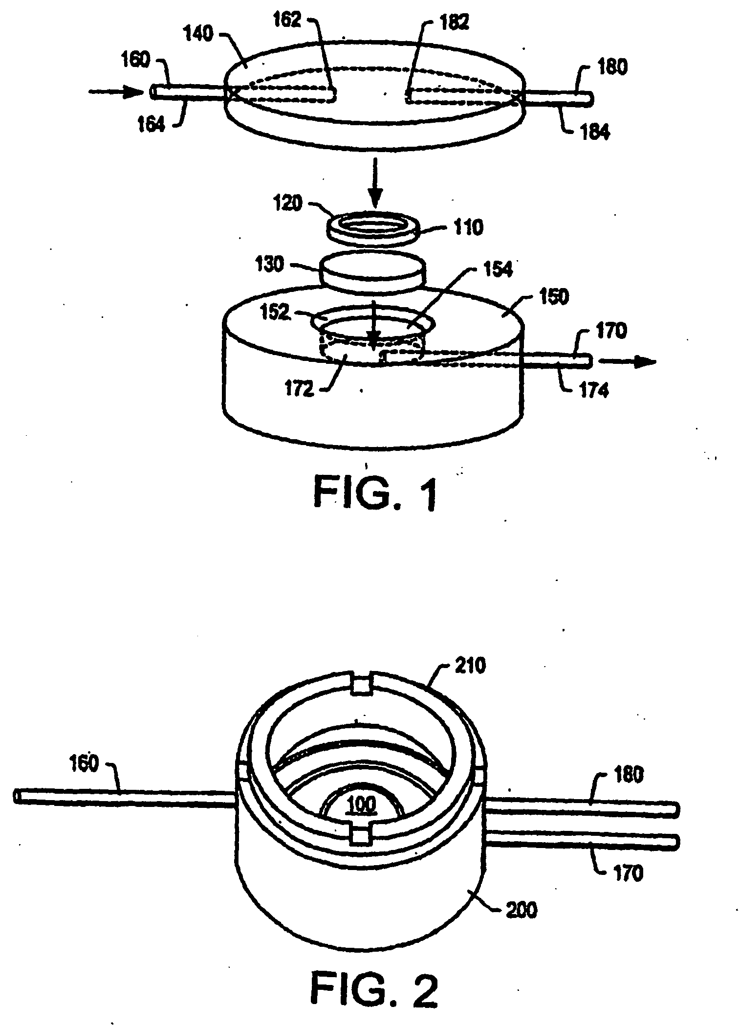
A microchip-based system for HIV diagnostics
授权日
2009-11-25
公开(公告)号
EP1590669B1
申请日
2004-02-05
公开(公告)日
2009-11-25
当前申请(专利权)人
THE GENERAL HOSPITAL CORPORATION | BOARD OF REGENTS, THE UNIVERSITY OF TEXAS SYSTEM
发明人
WALKER, BRUCE, D. | RODRIGUEZ, WILLIAM, | MCDEVITT, JOHN, T. | CHRISTODOULIDES, NICK J
简单同族
AT449962T | AU2004212464A1 | BRPI0407299A | BRPI0407299A2 | CA2515348A1 | DE602004024285D1 | EP1590669A2 | EP1590669A4 | EP1590669B1 | JP2006516743A | US20060234209A1 | WO2004072097A2 | WO2004072097A3
简单同族成员数量
13
简单同族被引用专利总数
49
诉讼案件数
0
法律状态/事件
权利终止
抱歉,您的浏览器不支持PDF预览,请点击链接下载PDF文件