专利数据库
统计分析
产业报告
专利数据监控
产业人才
行业动态
产业政策法规
维权援助
个人中心
详情
文本
图像
标题
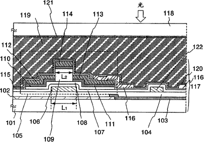
液晶显示器件及其制造方法
授权日
1900-01-01
公开(公告)号
CN1892387A
申请日
2006-06-30
公开(公告)日
2007-01-10
当前申请(专利权)人
株式会社半导体能源研究所
发明人
藤川最史 | 细谷邦雄
简单同族
CN100565309C | CN101676779A | CN101676779B | CN1892387A | KR101258676B1 | KR1020070003572A | US20070002199A1
简单同族成员数量
7
简单同族被引用专利总数
58
诉讼案件数
0
法律状态/事件
未缴年费
抱歉,您的浏览器不支持PDF预览,请点击链接下载PDF文件