专利数据库
统计分析
产业报告
专利数据监控
产业人才
行业动态
产业政策法规
维权援助
个人中心
详情
文本
图像
标题
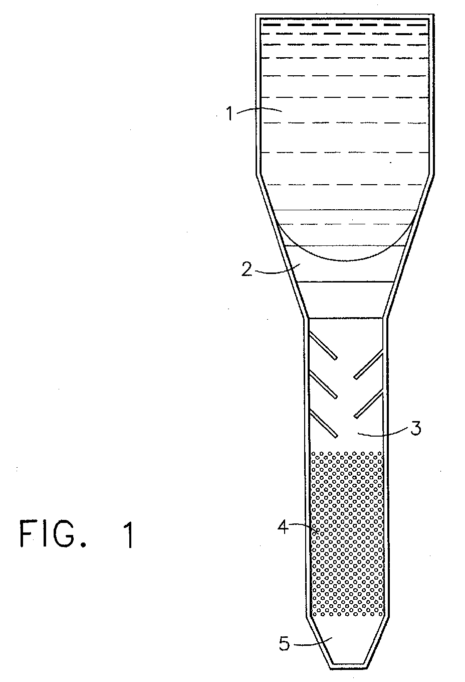
Method and apparatus for the detection of agglutination of assays
授权日
1900-01-01
公开(公告)号
EP1450159A2
申请日
2004-02-24
公开(公告)日
2004-08-25
当前申请(专利权)人
ORTHO-CLINICAL DIAGNOSTICS, INC.
发明人
MOULDS, JOHN | ZISLIN, ALEX M. | SZUCS, JOHN
简单同族
AU2004200710A1 | AU2004200710A2 | CA2458827A1 | EP1450159A2 | EP1450159A3 | JP2004317489A | JP2004317489A5 | KR1020040076226A | US20040166551A1
简单同族成员数量
9
简单同族被引用专利总数
106
诉讼案件数
0
法律状态/事件
撤回
抱歉,您的浏览器不支持PDF预览,请点击链接下载PDF文件