专利数据库
统计分析
产业报告
专利数据监控
产业人才
行业动态
产业政策法规
维权援助
个人中心
详情
文本
图像
标题
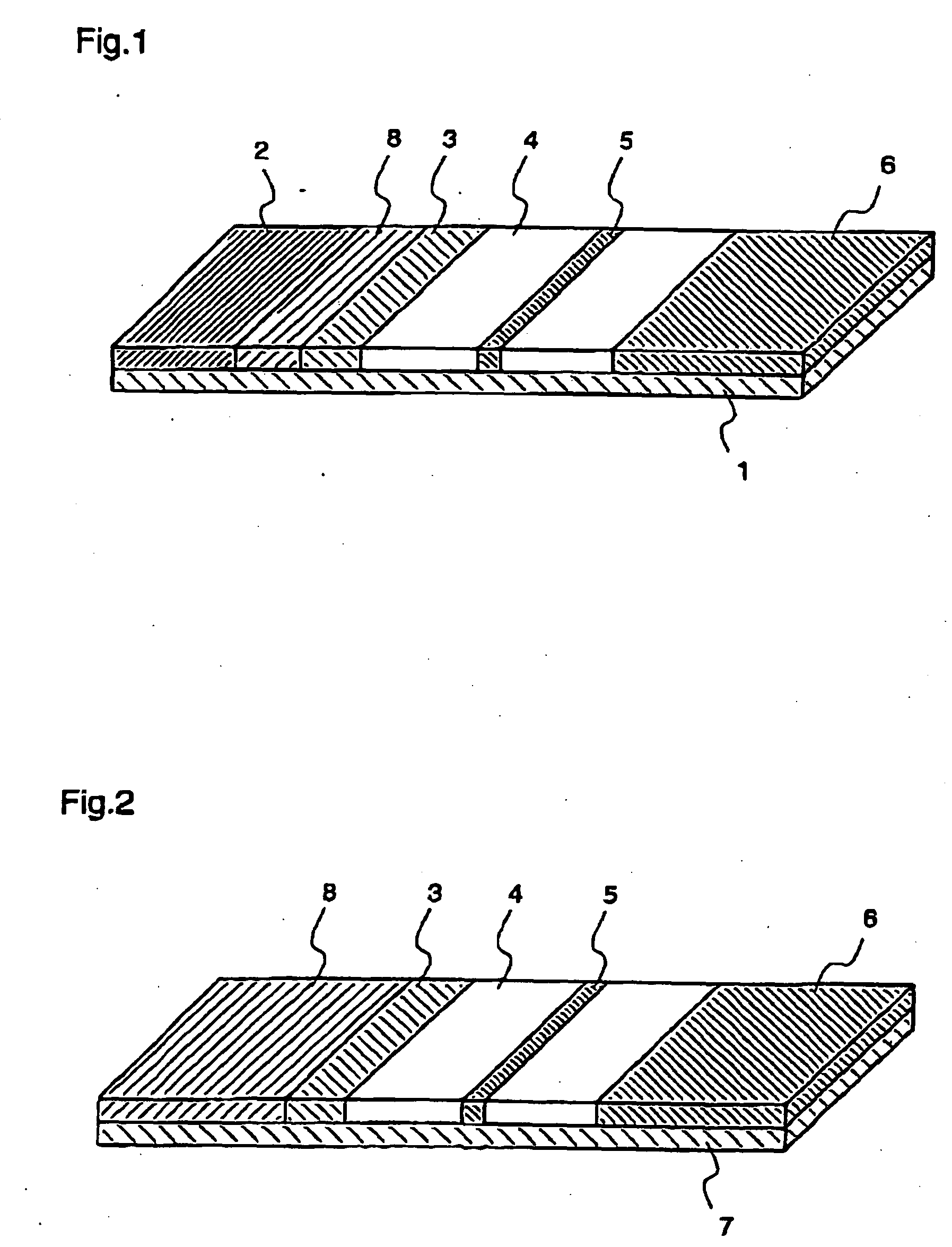
Biosensor and blood component analyzing method
授权日
2008-05-14
公开(公告)号
EP1202061B1
申请日
2001-06-01
公开(公告)日
2008-05-14
当前申请(专利权)人
PANASONIC CORPORATION
发明人
TAKAHASHI, MIE | NADAOKA, MASATAKA | TANAKA, HIROTAKA | KITAWAKI, FUMIHISA
简单同族
CN1161612C | CN1380978A | DE60133982D1 | EP1202061A1 | EP1202061A4 | EP1202061B1 | JP3655283B2 | JPWO2001092886A1 | KR100513213B1 | KR1020020042630A | US20020137200A1 | US20080083619A1 | US20080085561A1 | US7915051 | US7998752 | WO2001092886A1
简单同族成员数量
16
简单同族被引用专利总数
61
诉讼案件数
0
法律状态/事件
权利终止 | 权利转移
抱歉,您的浏览器不支持PDF预览,请点击链接下载PDF文件