专利数据库
统计分析
产业报告
专利数据监控
产业人才
行业动态
产业政策法规
维权援助
个人中心
详情
文本
图像
标题
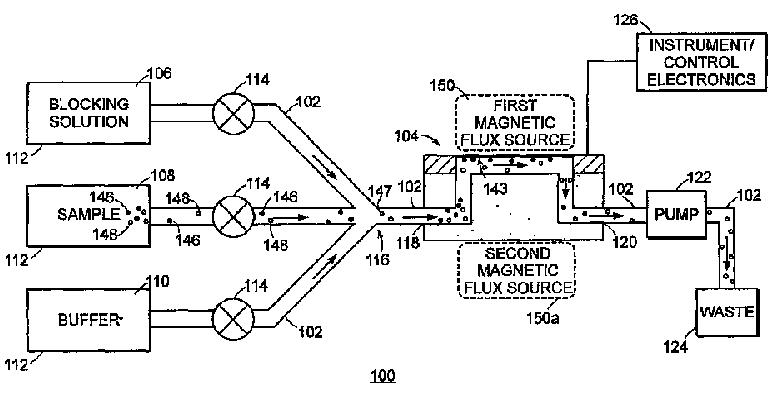
音響デバイスを用いてアナライトを検出する方法及び装置
授权日
1900-01-01
公开(公告)号
JP2008541053A
申请日
2006-05-02
公开(公告)日
2008-11-20
当前申请(专利权)人
バイオスケール·インコーポレーテッド
发明人
サウアー-バッジ,アレクシス·エフ | フィッチ,エリック | マスターズ,ブレット·ピー | ミラー,マイケル | ランストローム,マーク
简单同族
EP1886142A2 | EP1891441A2 | EP1891441B1 | JP2008541052A | JP2008541053A | JP2013015533A | JP5197357B2 | KR101257527B1 | KR1020080016595A | KR1020080027239A | US20060257945A1 | US20060286685A1 | US20070037142A1 | US20070037231A1 | US20070042441A1 | US20070281371A1 | US7300631 | US7598094 | US7615381 | US7629137 | US7632638 | WO2006119308A2 | WO2006119308A3 | WO2007030155A2 | WO2007030155A3
简单同族成员数量
25
简单同族被引用专利总数
254
诉讼案件数
0
法律状态/事件
授权 | 权利转移
抱歉,您的浏览器不支持PDF预览,请点击链接下载PDF文件