专利数据库
统计分析
产业报告
专利数据监控
产业人才
行业动态
产业政策法规
维权援助
个人中心
详情
文本
图像
标题
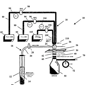
急速細胞ブロック包埋法及び装置
授权日
1900-01-01
公开(公告)号
JP2010266458A
申请日
2010-07-09
公开(公告)日
2010-11-25
当前申请(专利权)人
ユニバーシテイ·オブ·マサチユセツツ
发明人
フイシヤー,アンドリユー·エイチ
简单同族
AT517980T | AU2003291659A1 | CA2502580A1 | CA2502580C | DK1563055T3 | EP1563055A1 | EP1563055A4 | EP1563055B1 | EP2237013A1 | EP2237013B1 | ES2372169T3 | JP2006504432A | JP2010266458A | JP4571503B2 | JP5204810B2 | PT1563055E | US20040121456A1 | US6913921 | WO2004041994A1
简单同族成员数量
19
简单同族被引用专利总数
102
诉讼案件数
0
法律状态/事件
授权
抱歉,您的浏览器不支持PDF预览,请点击链接下载PDF文件