专利数据库
统计分析
产业报告
专利数据监控
产业人才
行业动态
产业政策法规
维权援助
个人中心
详情
文本
图像
标题
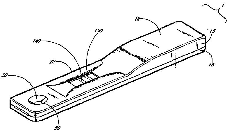
サンプル中の分析物についての診断試験
授权日
1900-01-01
公开(公告)号
JP2007524813A
申请日
2004-03-19
公开(公告)日
2007-08-30
当前申请(专利权)人
アドバンテイジ ダイアグノスティックス コーポレイション
发明人
チャールトン, デーヴィッド
简单同族
AT492814T | AT9863U1 | AU2004254558A1 | AU2010201632A1 | BRPI0411059A | BRPI0411059A2 | BRPI0411059B1 | CA2528108A1 | CA2528108C | CN1902489A | CN1902489B | CZ16422U1 | DE212004000032U1 | DE602004030693D1 | DK200500290U1 | DK200500290U4 | DK200500290W | EP1658483A2 | EP1658483A4 | EP1658483B1 | HK1084183A | HK1084183A1 | JP2007524813A | JP4851321B2 | PT2005003732W | UA19871U | US20040248322A1 | US7393697 | WO2005003732A2 | WO2005003732A3
简单同族成员数量
30
简单同族被引用专利总数
139
诉讼案件数
0
法律状态/事件
授权 | 许可
抱歉,您的浏览器不支持PDF预览,请点击链接下载PDF文件