专利数据库
统计分析
产业报告
专利数据监控
产业人才
行业动态
产业政策法规
维权援助
个人中心
详情
文本
图像
标题
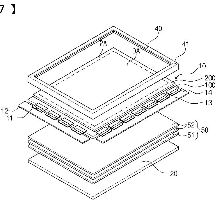
液晶表示装置及びその駆動方法と製造方法
授权日
2012-08-10
公开(公告)号
JP5060810B2
申请日
2007-03-28
公开(公告)日
2012-10-31
当前申请(专利权)人
三星電子株式会社
发明人
朴 文 秀
简单同族
CN101135794A | CN101135794B | JP2008058937A | JP2008058937A5 | JP5060810B2 | KR101251543B1 | KR1020080020859A | US20080055297A1 | US8013821
简单同族成员数量
9
简单同族被引用专利总数
53
诉讼案件数
0
法律状态/事件
未缴年费 | 权利转移
抱歉,您的浏览器不支持PDF预览,请点击链接下载PDF文件