专利数据库
统计分析
产业报告
专利数据监控
产业人才
行业动态
产业政策法规
维权援助
个人中心
详情
文本
图像
标题
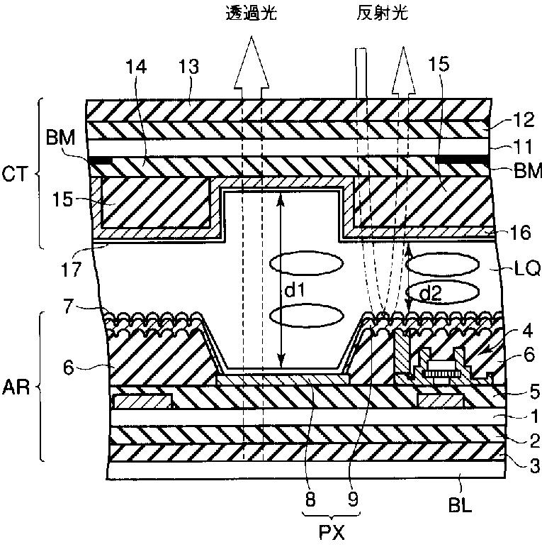
液晶表示装置
授权日
2007-12-21
公开(公告)号
JP4057871B2
申请日
2002-09-19
公开(公告)日
2008-03-05
当前申请(专利权)人
東芝松下ディスプレイテクノロジー株式会社
发明人
森本 浩和 | 倉内 昭一
简单同族
JP2004109629A | JP4057871B2 | KR1020040025626A | TW200405085A | TW594182B | US20040066477A1 | US6947110
简单同族成员数量
7
简单同族被引用专利总数
162
诉讼案件数
0
法律状态/事件
未缴年费 | 权利转移
抱歉,您的浏览器不支持PDF预览,请点击链接下载PDF文件