专利数据库
统计分析
产业报告
专利数据监控
产业人才
行业动态
产业政策法规
维权援助
个人中心
详情
文本
图像
标题
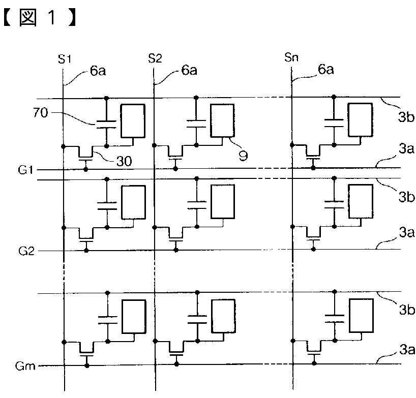
液晶表示装置および電子機器
授权日
2007-11-16
公开(公告)号
JP4039232B2
申请日
2002-12-20
公开(公告)日
2008-01-30
当前申请(专利权)人
セイコーエプソン株式会社
发明人
奥村 治
简单同族
CN1301438C | CN1510462A | JP2004198920A | JP4039232B2 | KR100562599B1 | KR1020040055666A | TW200415404A | TWI276867B | US20040165129A1 | US7106405
简单同族成员数量
10
简单同族被引用专利总数
121
诉讼案件数
0
法律状态/事件
授权 | 权利转移
抱歉,您的浏览器不支持PDF预览,请点击链接下载PDF文件