专利数据库
统计分析
产业报告
专利数据监控
产业人才
行业动态
产业政策法规
维权援助
个人中心
详情
文本
图像
标题
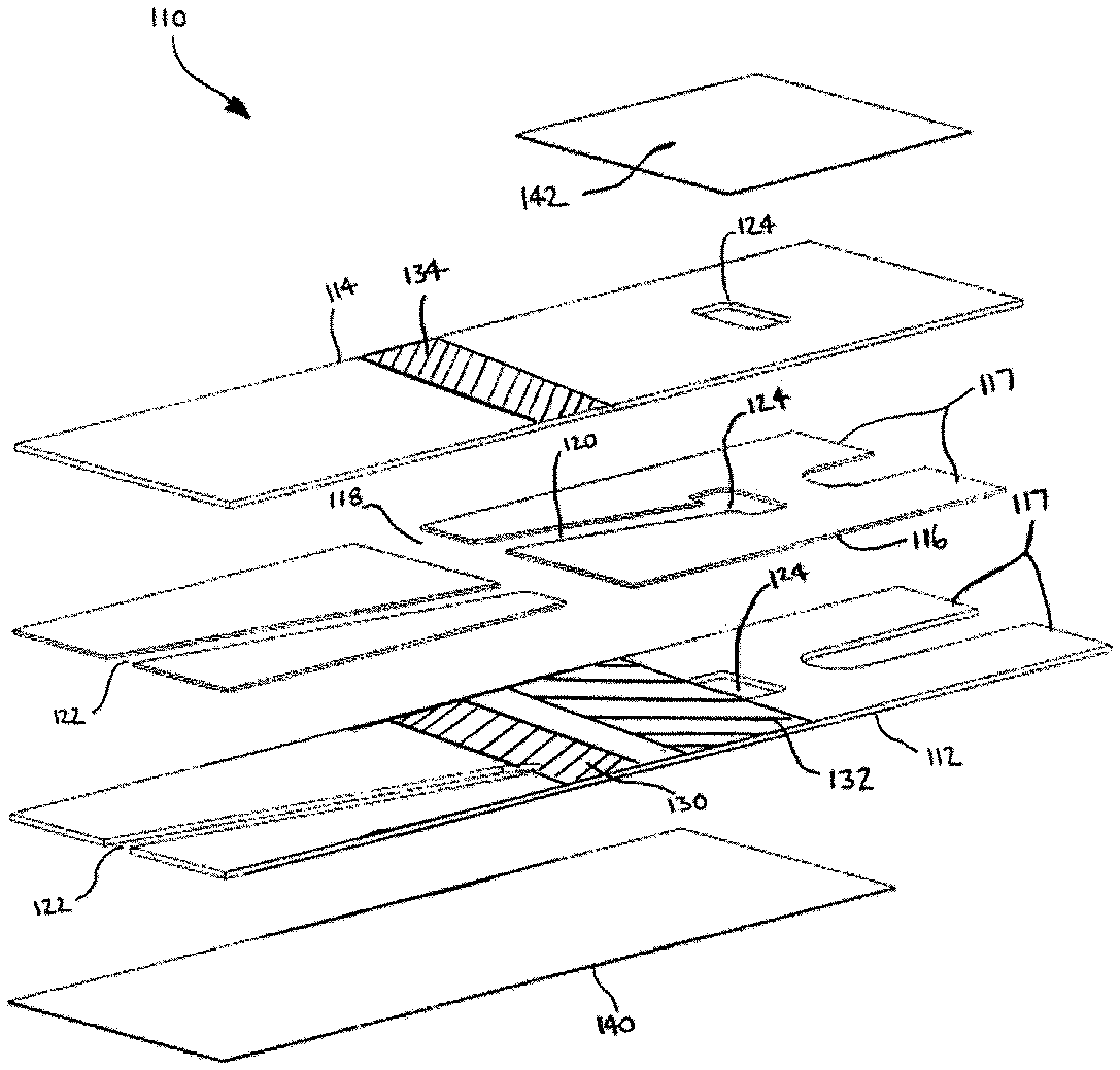
充填時間を使用してバイオセンサーの精度を改善するためのシステム、装置及び方法
授权日
1900-01-01
公开(公告)号
JP2017203783A
申请日
2017-08-24
公开(公告)日
2017-11-16
当前申请(专利权)人
ライフスキャン·インコーポレイテッド
发明人
チャトレー ロナルド シー. | ホッジズ アラスター エム.
简单同族
AU2010257393A1 | AU2010257465A1 | AU2010257465B2 | BRPI1010355A2 | CA2726411A1 | CA2726411C | CA2826512A1 | CA2826512C | CN102116752A | CN102116752B | EP2360477A1 | EP2360477B1 | EP3182127A1 | EP3182127B1 | EP3349008A1 | EP3349008B1 | EP3349009A1 | ES2645388T3 | HK1159753A | HK1159753A1 | HK1160678A | HK1160678A1 | HK1237874A | HK1256941A | HK1256942A | IL210208A | IL210208D0 | JP2011145291A | JP2011145291A5 | JP2014160090A | JP2014160091A | JP2015232581A | JP2017203783A | JP5635388B2 | JP5820014B2 | JP5820015B2 | JP6258276B2 | JP6522067B2 | KR101293938B1 | KR1020110079561A | SG172589A1 | TW201128191A | TWI504899B | US20110155585A1 | US20110155589A1 | US20140097097A1 | US8101065 | US8623198 | US9404888
简单同族成员数量
49
简单同族被引用专利总数
84
诉讼案件数
0
法律状态/事件
授权
抱歉,您的浏览器不支持PDF预览,请点击链接下载PDF文件