专利数据库
统计分析
产业报告
专利数据监控
产业人才
行业动态
产业政策法规
维权援助
个人中心
详情
文本
图像
标题
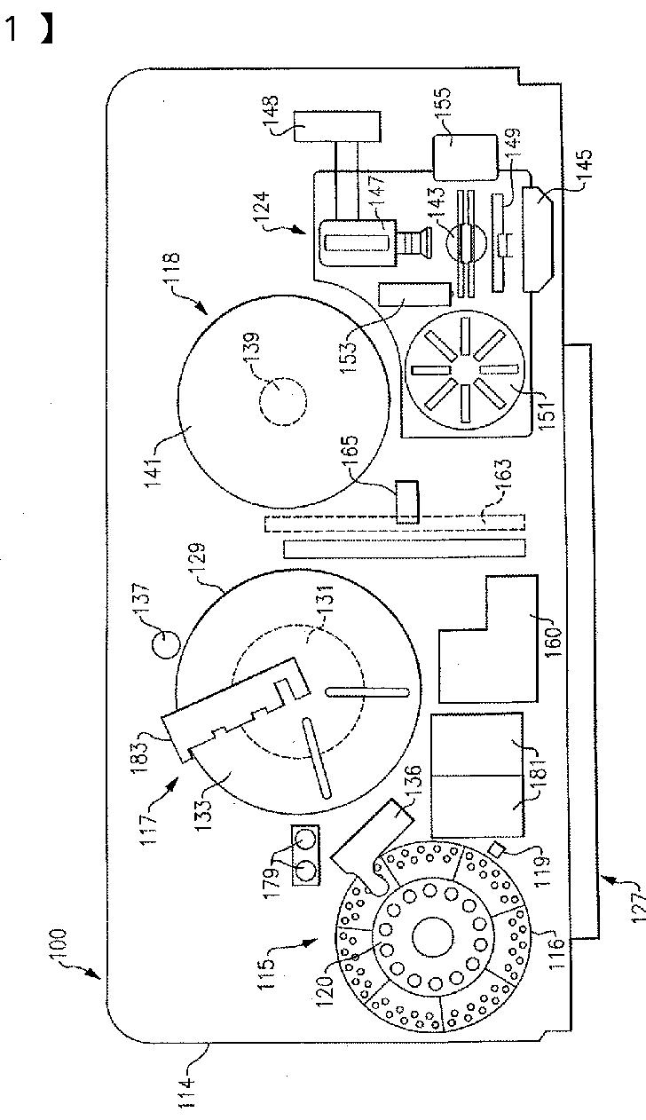
遠心分離サイクル中の凝集評価を事前に提供するための少なくとも1つのイメージャーを有する免疫診断検査装置
授权日
2013-08-02
公开(公告)号
JP5329293B2
申请日
2009-04-28
公开(公告)日
2013-10-30
当前申请(专利权)人
オーソ-クリニカル·ダイアグノスティックス·インコーポレイテッド
发明人
レイモンド·エフ·ジャクボウィッツ | ドナルド·ジェイ·モラン·ジュニア | マイケル·エル·ディー | ジョセフ·エム·キャペリ | マーク·サウクチョク
简单同族
CA2665054A1 | CA2665054C | CN101581721A | CN101581721B | DK2124054T3 | EP2124054A1 | EP2124054B1 | ES2651942T3 | JP2009271069A | JP5329293B2 | NO2124054T3 | US20090274348A1
简单同族成员数量
12
简单同族被引用专利总数
58
诉讼案件数
0
法律状态/事件
授权
抱歉,您的浏览器不支持PDF预览,请点击链接下载PDF文件