专利数据库
统计分析
产业报告
专利数据监控
产业人才
行业动态
产业政策法规
维权援助
个人中心
详情
文本
图像
标题
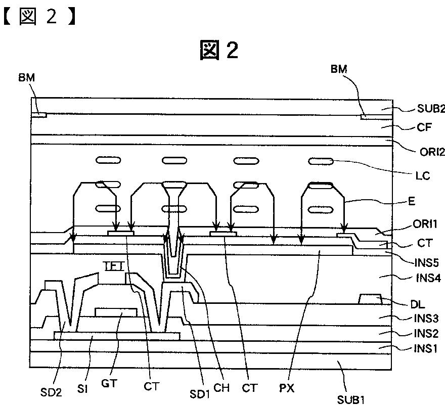
液晶表示装置
授权日
2010-11-12
公开(公告)号
JP4623464B2
申请日
2005-09-26
公开(公告)日
2011-02-02
当前申请(专利权)人
株式会社 日立ディスプレイズ
发明人
落合 孝洋 | 佐々木 亨 | 今山 寛隆 | 森本 政輝
简单同族
CN1940650A | JP2007086657A | JP4623464B2 | US10254600 | US20070070266A1 | US20100002174A1 | US20110234959A1 | US20120133877A1 | US20130070177A1 | US20150205175A1 | US20170343870A1 | US20190196278A1 | US7605898 | US7961286 | US8134673 | US8334957 | US9785020
简单同族成员数量
17
简单同族被引用专利总数
101
诉讼案件数
0
法律状态/事件
授权 | 权利转移
抱歉,您的浏览器不支持PDF预览,请点击链接下载PDF文件