专利数据库
统计分析
产业报告
专利数据监控
产业人才
行业动态
产业政策法规
维权援助
个人中心
详情
文本
图像
标题
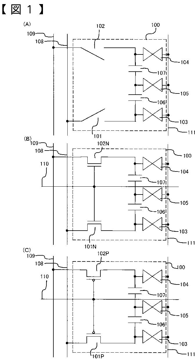
液晶表示装置
授权日
2012-05-11
公开(公告)号
JP4989309B2
申请日
2007-05-18
公开(公告)日
2012-08-01
当前申请(专利权)人
株式会社半導体エネルギー研究所
发明人
木村 肇
简单同族
JP2008287115A | JP4989309B2 | US10012880 | US20080284929A1 | US20120249907A1 | US20140313444A1 | US20160070148A1 | US20170235197A1 | US20180364531A1 | US8253911 | US8767159 | US9360722 | US9645461
简单同族成员数量
13
简单同族被引用专利总数
192
诉讼案件数
0
法律状态/事件
授权
抱歉,您的浏览器不支持PDF预览,请点击链接下载PDF文件