专利数据库
统计分析
产业报告
专利数据监控
产业人才
行业动态
产业政策法规
维权援助
个人中心
详情
文本
图像
标题
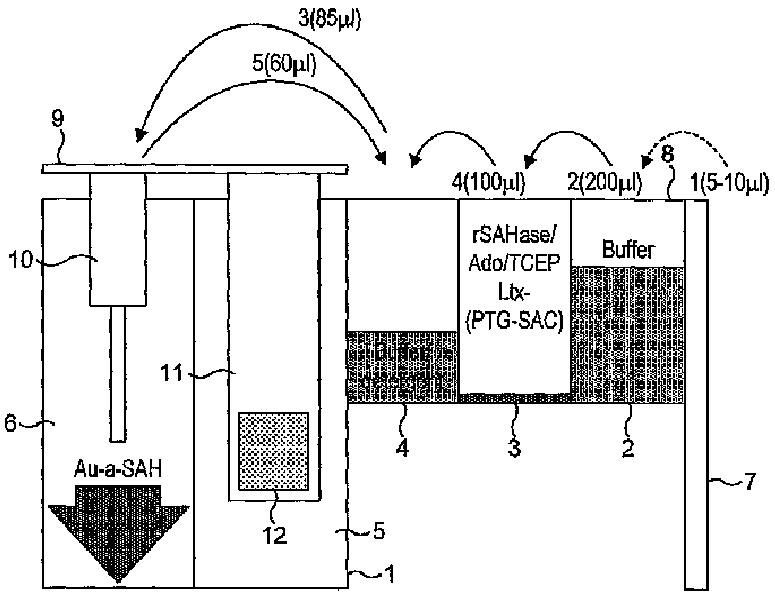
アッセイ方法
授权日
1900-01-01
公开(公告)号
JP2008532006A
申请日
2006-02-23
公开(公告)日
2008-08-14
当前申请(专利权)人
アクシス-シールド エイエスエイ
发明人
フランツェン、フランク | ファーレン、アーン、ルードヴィッグ | ノードヘイ、アーン、クリスティアン
简单同族
CA2583280A1 | CA2583280C | CN101128738A | CN101128738B | CN103675259A | CN103675259B | EP1851550A1 | EP1851550B1 | GB0503836D0 | JP2008532006A | JP4820827B2 | US20080261210A1 | US8728800 | WO2006090154A1
简单同族成员数量
14
简单同族被引用专利总数
90
诉讼案件数
0
法律状态/事件
授权
抱歉,您的浏览器不支持PDF预览,请点击链接下载PDF文件